Запчасти Komatsu PC300NLC-5K ГИДР. НАСОС. (/) (СЕРВОКЛАПАН¤ ЗАДН.) (/) УПРАВЛ-Е РАБОЧИМ ОБОРУДОВАНИЕМ

Схема запчастей Komatsu PC300NLC-5K - ГИДР. НАСОС. (/) (СЕРВОКЛАПАН¤ ЗАДН.) (/) УПРАВЛ-Е РАБОЧИМ ОБОРУДОВАНИЕМ
FIT
1:1
100%

Артикул

Название

Примечание

Количество

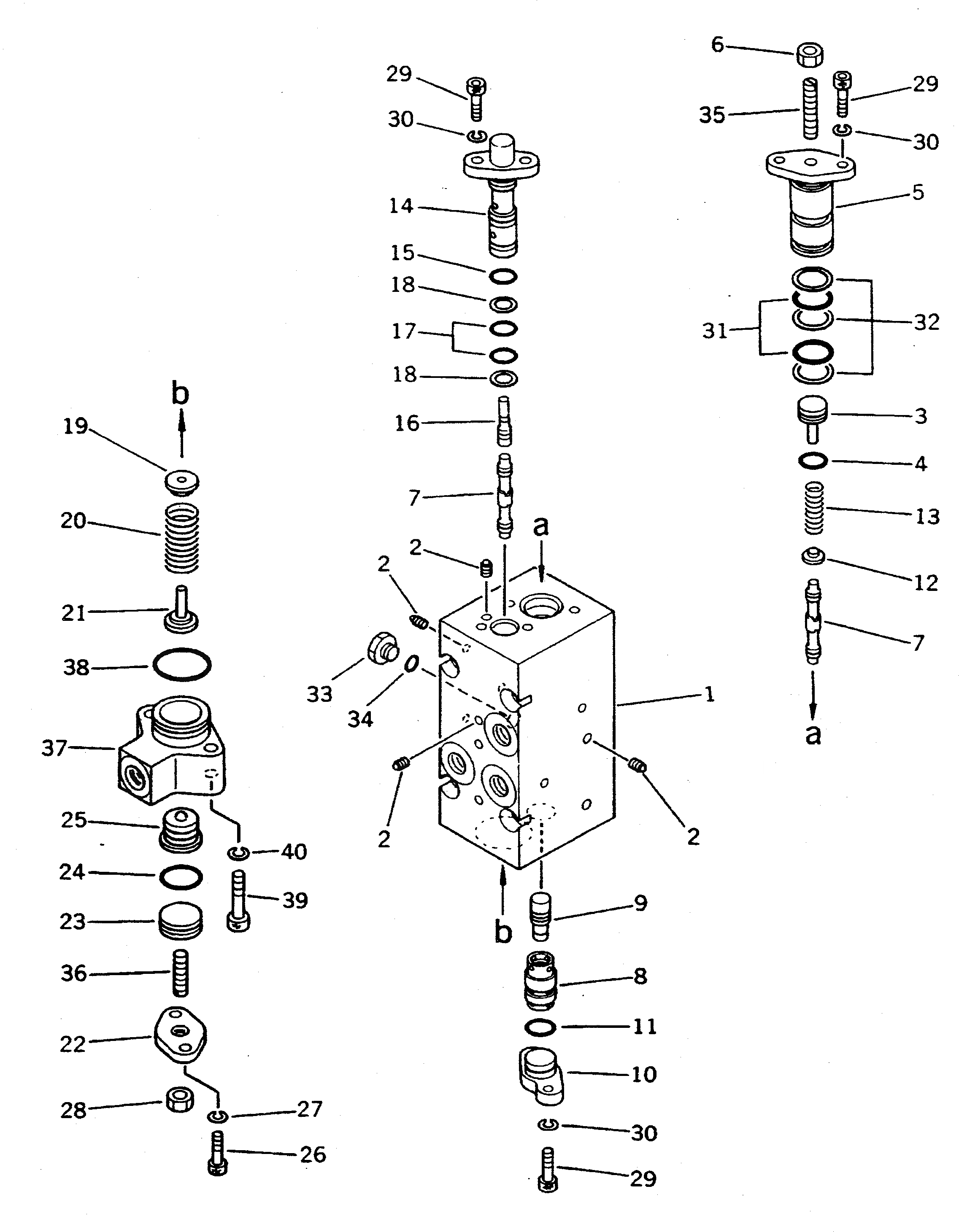
|1

708-27-04013

HYDRAULIC PUMP ASS'Y

|1

708-27-08211

SERVO VALVE ASS'Y,REAR

|1

708-27-08611

VALVE ASS'Y,CO AND NC

|1

708-23-00430

BODY ASS'Y

1

BODY

2

EXPANDER

3

708-25-17460

PLUG

4

07000-02010

O-RING

5

708-25-17131

COVER

6

01580-10806

NUT

7

708-25-17141

SPOOL

8

708-25-17150

SLEEVE

9

708-25-17160

PISTON

10

708-25-17170

COVER

11

07000-02014

O-RING

12

708-25-17180

SEAT

13

708-25-17690

SPRING

14

708-25-17451

SLEEVE

15

07000-02012

O-RING

16

708-25-17220

PISTON

17

07000-12012

O-RING

18

07001-02012

RING,BACK-UP

19

708-25-17370

SEAT

20

708-25-17250

SPRING

21

708-25-17260

SEAT

22

708-23-17240

COVER

23

708-25-17380

PLUG

24

07000-02021

O-RING

25

708-23-17270

PISTON

26

708-25-15320

BOLT

27

01602-20619

WASHER,SPRING

28

01580-10806

NUT

29

708-25-15320

BOLT

30

01602-20619

WASHER,SPRING

31

07000-12021

O-RING

32

07001-02021

RING,BACK-UP

33

07040-11007

PLUG

34

07002-01023

O-RING

35

708-25-17430

SCREW

36

708-25-15340

SCREW

37

708-23-17290

COVER

38

07000-03028

O-RING

39

706-75-40310

BOLT

40

01602-20619

WASHER,SPRING

Выбрано товаров: 44