Запчасти Komatsu PC300SC-6 ЗВУК. СИГНАЛ. (БОЛ. SOUND) ЭЛЕКТРИКА

Схема запчастей Komatsu PC300SC-6 - ЗВУК. СИГНАЛ. (БОЛ. SOUND) ЭЛЕКТРИКА
FIT
1:1
100%

Артикул

Название

Примечание

Количество

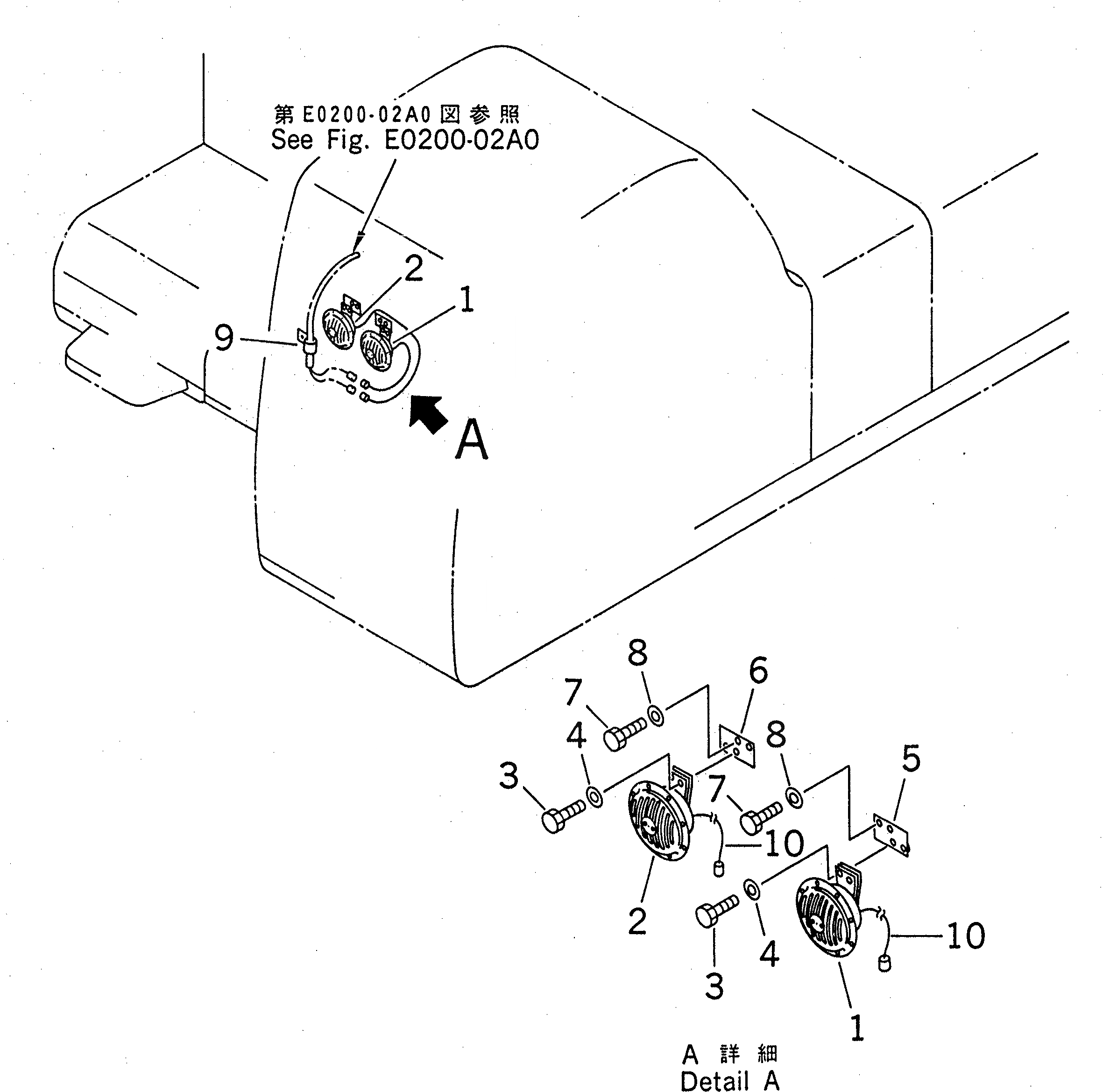
1

20Y-06-12220

HORN

2

20Y-06-12230

HORN

3

01010-81025

BOLT

|3

01010-51025

BOLT

4

01643-31032

WASHER

5

20Y-06-12240

BRACKET

6

20Y-06-12250

BRACKET

7

01010-80825

BOLT

|7

01010-50825

BOLT

8

01643-30823

WASHER

9

08036-10810

CLIP

10

20Y-06-12260

WIRE

Выбрано товаров: 12