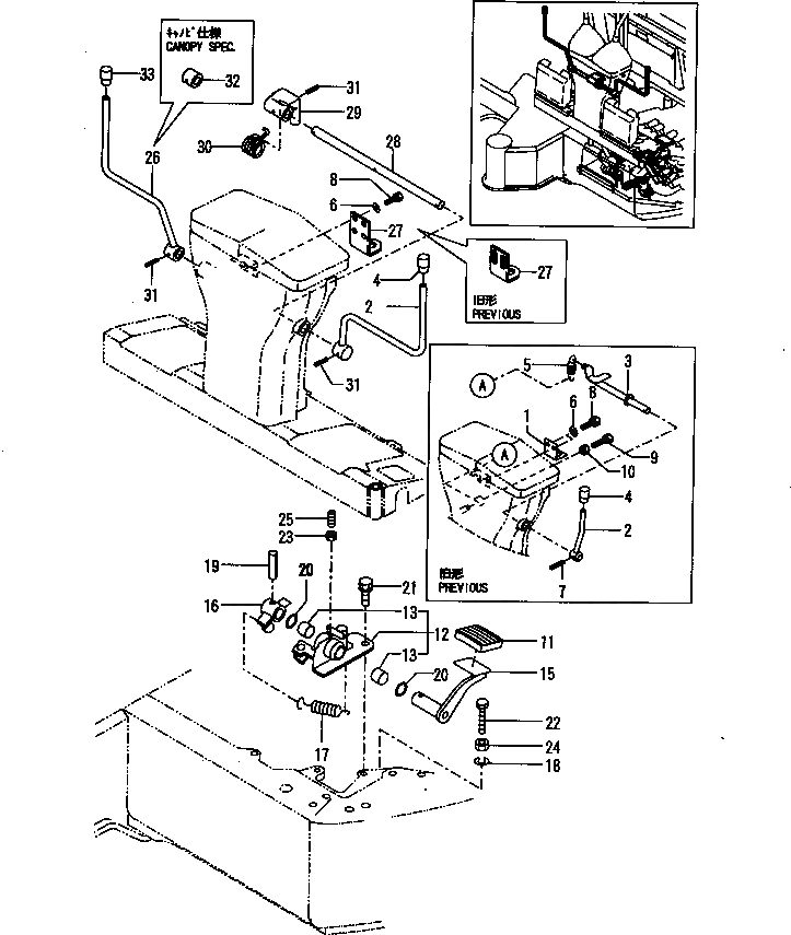
Запчасти Komatsu PC30FR-1 УПРАВЛ-Е ОБОРУД-Е (CUT OFF РЫЧАГ И НИЗ.-ВЫС. ПЕДАЛЬ) СИСТЕМА УПРАВЛЕНИЯ

Схема запчастей Komatsu PC30FR-1 - УПРАВЛ-Е ОБОРУД-Е (CUT OFF РЫЧАГ И НИЗ.-ВЫС. ПЕДАЛЬ) СИСТЕМА УПРАВЛЕНИЯ
FIT
1:1
100%

Артикул

Название

Примечание

Количество

1

YM172164-17150

BRACKET,SWITCH

|1

YM172519-17112

BRACKET,SWITCH

2

YM172175-45881

LEVER

|2

YM172175-45880

LEVER

3

YM172175-45910

SHAFT

4

YM172116-46630

KNOB,LOCK LEVER

5

YM172614-47550

SPRING,RETURN

6

YM22137-080000

WASHER

7

YM22351-040020

PIN

8

YM26013-080202

BOLT

9

YM26116-080304

BOLT

10

YM26756-080002

NUT

11

YM172122-45830

PAD,METAL

12

YM172176-46400

BRACKET ASS'Y

13

YM172141-41360

BUSHING

15

YM172176-46450

PEDAL ASS'Y,LOW-HIGH

16

YM172176-46480

LINK ASS'Y

17

YM172162-46690

SPRING

18

YM22217-100000

WASHER

19

YM22351-050025

PIN

20

YM24311-000210

O-RING

21

YM26013-100202

BOLT

22

YM26116-100504

BOLT

23

YM26716-060002

NUT

24

YM26716-100002

NUT

25

YM26911-060202

SCREW

26

YM172175-45950

LEVER

27

YM172175-45981

BRACKET

|27

YM172175-45980

BRACKET

28

YM172175-45970

SHAFT

29

YM172175-45990

LINK

30

YM172165-45970

SPRING

31

YM22351-050025

PIN

32

YM172175-46120

BOSS

33

YM172116-46630

KNOB

Выбрано товаров: 35