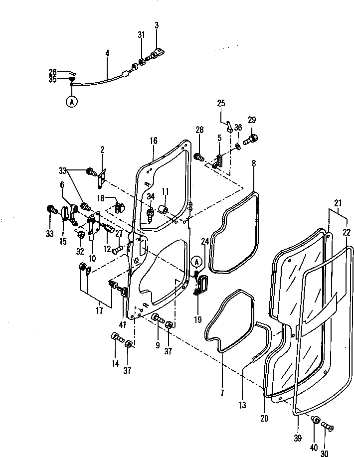
Запчасти Komatsu PC30FR-1 КАБИНА ДВЕРЬ (/) (КУЗОВ)(№-) ЧАСТИ КОРПУСА

Схема запчастей Komatsu PC30FR-1 - КАБИНА ДВЕРЬ (/) (КУЗОВ)(№-) ЧАСТИ КОРПУСА
FIT
1:1
100%

Артикул

Название

Примечание

Количество

1

YM77217668901K

DOOR ASS'Y

2

YM172176-67000

COVER,DOOR

3

YM172176-67410

BOLT

4

YM172176-67400

LINK

5

YM172176-67090

CATCH

6

YM172176-67100

HANDLE ASS'Y

7

YM172176-67121

TRIM,UNDER

8

YM172176-67131

TRIM,UPPER

9

YM172176-67150

RUBBER

10

YM172176-67231

COVER,DOOR

11

YM172176-67250

PIPE

12

YM172176-67800

BOLT

13

YM172176-67890

INSULATOR,DOOR

14

YM172176-68170

RUBBER,STOPPER

15

YM172176-68240

CORD,RUBBER

16

YM172176-68900

DOOR

17

YM172162-69460

KEY ASS'Y,CYLINDER

18

YM172162-69480

LOCK ASS'Y

19

YM172162-69540

HANDLE,OUTER

20

YM172176-69760

SEAL

21

YM172176-69800

GLASS,DOOR

22

YM172964-03210

LABEL,GLASS

24

YM172176-69911

PLATE

25

YM172176-69931

LEVER

26

YM22417-200200

PIN

27

YM26022-060162

SCREW

28

YM26022-060122

SCREW

29

YM26013-060302

BOLT

30

YM26579-060202

SCREW

31

YM26716-080002

NUT

32

YM26716-080002

NUT

33

YM26022-050102

SCREW

34

YM26022-060122

SCREW

35

YM22137-060000

WASHER

36

YM22137-060000

WASHER

37

YM26716-080002

NUT

38

YM172964-03210

LABEL

39

YM172176-69810

SEAL

40

YM172176-69820

COLLAR

41

KEY ASS'Y

Выбрано товаров: 40