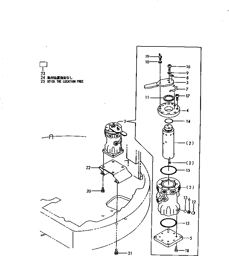
Запчасти Komatsu PC30FR-1 MULTIPLE PATTERN SELECT КЛАПАН УПРАВЛ-Е РАБОЧИМ ОБОРУДОВАНИЕМ

Схема запчастей Komatsu PC30FR-1 - MULTIPLE PATTERN SELECT КЛАПАН УПРАВЛ-Е РАБОЧИМ ОБОРУДОВАНИЕМ
FIT
1:1
100%

Артикул

Название

Примечание

Количество

1

YM172975-74650

VALVE KIT,MULTI PATTERN

2

YM172151-74600

VALVE ASS'Y

3

YM172151-74700

LEVER

4

YM172151-74710

COVER

5

YM172151-74720

COVER

6

YM172151-74730

SPRING

7

YM172151-74740

PLATE,MARK

8

YM172151-74750

PLATE,MARK

9

YM172151-74760

WASHER

10

YM172151-74760

WASHER

11

YM172151-74770

GASKET

12

YM23871-010000

PLUG,SCREW

13

YM24190-100001

BALL,STEEL

14

YM24311-000280

O-RING

15

YM24321-000600

O-RING

16

YM26450-060162

BOLT

17

YM26450-060162

BOLT

18

YM26450-060162

BOLT

19

YM26647-060202

BOLT

20

YM26013-100252

BOLT

21

YM26013-100302

BOLT

22

YM172165-74200

BRACKET

23

YM172964-03450

LABEL,PATTERN B

24

YM172964-03460

LABEL

25

YM172964-03470

LABEL

Выбрано товаров: 25