Запчасти Komatsu PC30FR-1 TURNING МОТОР(№-) УПРАВЛ-Е РАБОЧИМ ОБОРУДОВАНИЕМ

Схема запчастей Komatsu PC30FR-1 - TURNING МОТОР(№-) УПРАВЛ-Е РАБОЧИМ ОБОРУДОВАНИЕМ
FIT
1:1
100%

Артикул

Название

Примечание

Количество

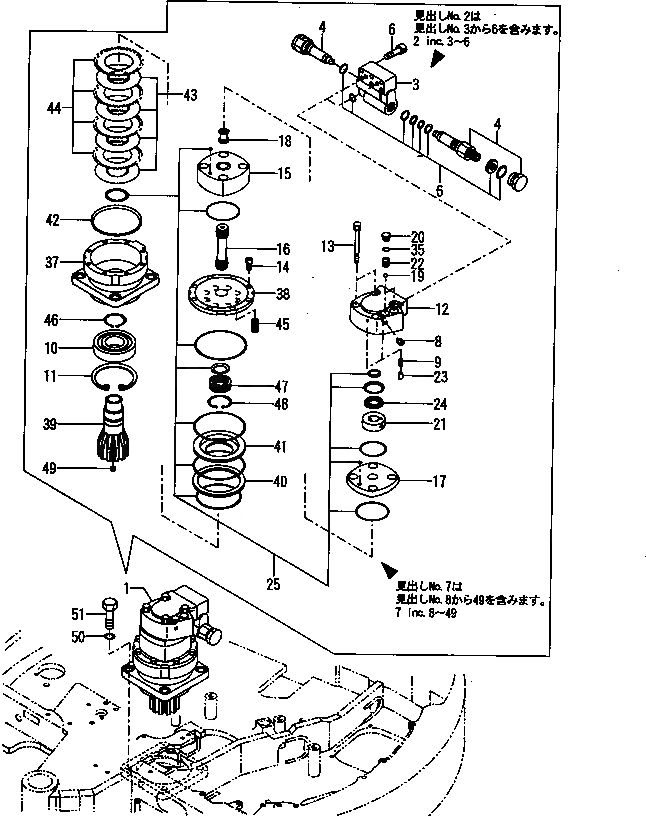
1

YM172175-73312

MOTOR ASS'Y,SWING

2

YM172175-73331

VALVE ASS'Y

3

YM172183-73330

VALVE BODY

4

YM172175-73351

CARTRIDGE ASS'Y

5

YM172168-73360

SEAL KIT

6

YM172168-73370

BOLT

7

YM172175-73371

MOTOR ASS'Y

8

YM172137-70490

PLUG

9

YM172137-70580

SPRING

10

YM172168-73430

BEARING

11

YM172168-73450

CIRCLIP

12

YM172175-73500

HOUSING

13

YM172175-73520

BOLT

14

YM172175-73540

BOLT

15

YM172168-73550

ROLLER

16

YM172175-73550

DRIVE

17

YM172175-73560

PLATE,VALVE

18

YM172175-73570

DRIVE,VALVE

19

YM172168-73580

BALL

20

YM172168-73590

PLUG

21

YM172173-73590

HOLDER

22

YM172168-73600

SPRING

23

YM172137-70570

PIN

24

YM172173-73600

RING

25

YM172168-73641

SEAL KIT

37

YM172175-73640

HOUSING,BEARING

38

YM172175-73650

FLANGE

39

YM172175-73660

GEAR,PINION

40

YM172175-73670

RING

41

YM172175-73750

RING,PISTON

42

YM172175-73760

PLATE

43

YM172175-73770

PLATE

44

YM172175-73780

PLATE

45

YM172175-73790

SPRING

46

YM172175-73800

RING

47

YM172175-73810

BEARING

48

YM172175-73820

RING

49

YM172141-77400

PLUG

50

YM22217-160000

WASHER

51

YM26116-160502

BOLT

Выбрано товаров: 40