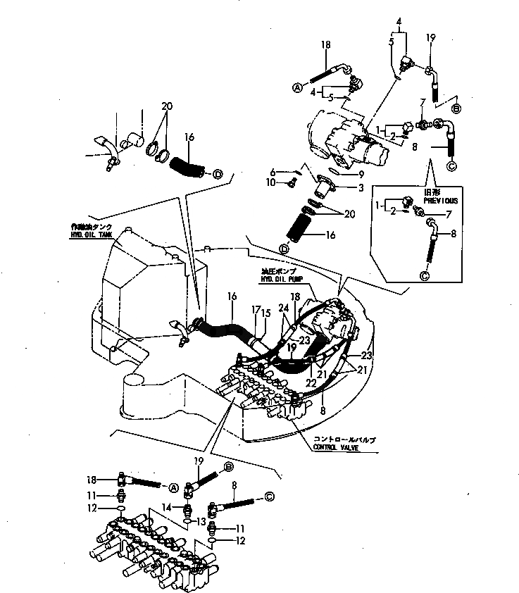
Запчасти Komatsu PC30FR-1 ГИДРОЛИНИЯ (ИЗ БАКА В НАСОС ¤ ИЗ НАСОСА В КЛАПАН) УПРАВЛ-Е РАБОЧИМ ОБОРУДОВАНИЕМ

Схема запчастей Komatsu PC30FR-1 - ГИДРОЛИНИЯ (ИЗ БАКА В НАСОС ¤ ИЗ НАСОСА В КЛАПАН) УПРАВЛ-Е РАБОЧИМ ОБОРУДОВАНИЕМ
FIT
1:1
100%

Артикул

Название

Примечание

Количество

1

YM172122-76131

CONNECTOR

2

YM24315-000180

O-RING

3

YM172165-76860

FLANGE

4

YM172141-76900

CONNECTOR

5

YM24315-000180

O-RING

6

YM22117-120000

WASHER

7

YM23391-040000

JOINT

8

YM172175-78151

HOSE

|8

YM172175-78150

HOSE

9

YM24321-000450

O-RING

10

YM26013-120302

BOLT

11

YM933152-07274

CONNECTOR

12

YM933152-07400

O-RING

13

YM933152-24120

O-RING

14

YM933166-24120

CONNECTOR

15

YM172122-79890

BAND

|15

YM172126-11510

BAND

16

YM172175-78101

HOSE

17

YM172173-78180

COVER

18

YM172175-78271

HOSE

|18

YM172175-78270

HOSE

19

YM172175-78281

HOSE

|19

YM172175-78280

HOSE

20

YM23000-070000

CLAMP

21

YM172122-79890

BAND

22

YM172175-78720

CUSHION

23

YM172175-78730

CUSHION

24

YM172175-78740

CLAMP

Выбрано товаров: 28