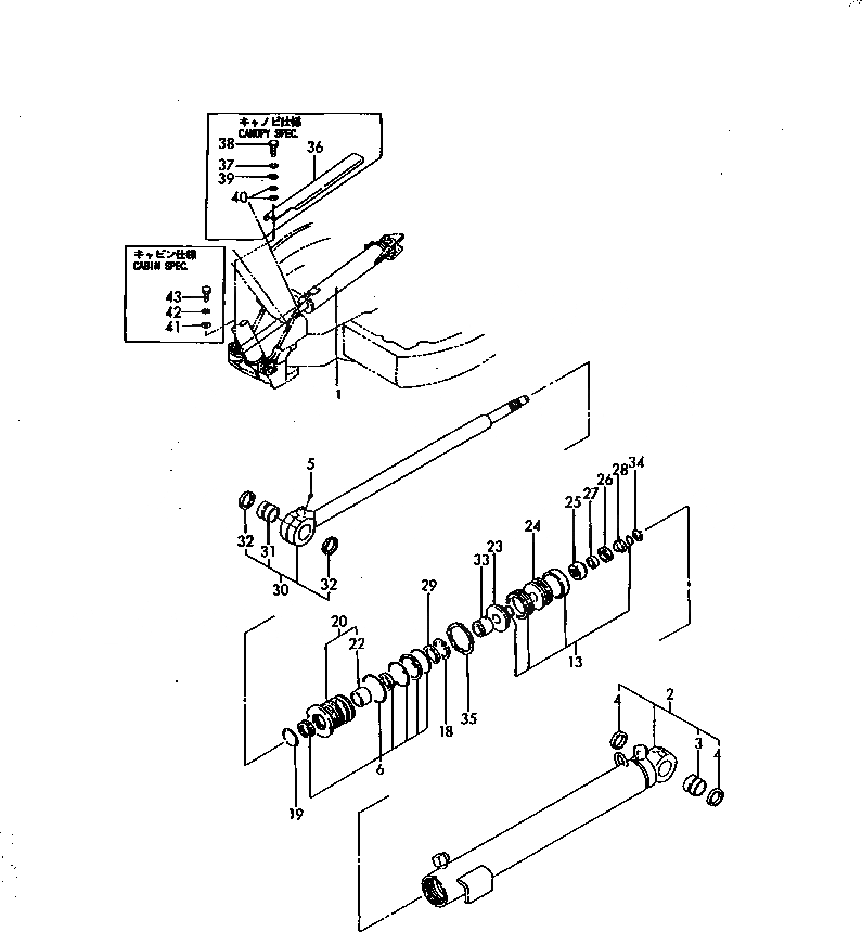
Запчасти Komatsu PC30FR-1 ПОВОРОТН. ЦИЛИНДР РАБОЧЕЕ ОБОРУДОВАНИЕ

Схема запчастей Komatsu PC30FR-1 - ПОВОРОТН. ЦИЛИНДР РАБОЧЕЕ ОБОРУДОВАНИЕ
FIT
1:1
100%

Артикул

Название

Примечание

Количество

1

YM172168-72201

CYLINDER,SWING

2

YM172168-72211

TUBE,SWING

3

YM172171-72150

BUSHING

4

YM172168-81270

SEAL,DUST

5

YM24761-020000

FITTING,GREASE

6

YM172142-72900

SEAL SET,HEAD

13

YM172142-72941

SEAL SET,PISTON

18

YM22252-000561

CLIP

19

YM933111-26600

RING,SPRING

20

YM172142-72210

HEAD

22

YM933135-14600

BUSHING,ROD

23

YM172142-72232

PISTON

24

YM172142-72242

PISTON

25

YM172141-72250

U-NUT

26

YM172137-72700

RING,CUSHION

27

YM172137-72710

COLLAR,CUSHION

28

YM172137-72720

COLLAR,CUSHION

29

YM172137-72730

RING,CUSHION

30

YM172142-72781

ROD ASS'Y,SWING

31

YM172171-72150

BUSHING

32

YM172168-81270

SEAL,DUST

33

YM172142-72800

PLUNGER,CUSHION

34

YM172142-72810

CLIP

35

YM172142-72260

WASHER

36

YM17216872300K

COVER

37

YM22217-100000

WASHER

38

YM26116-100162

BOLT

39

YM933147-03400

WASHER

40

YM933168-14170

SPRING

41

YM22157-100000

WASHER

42

YM22217-100000

WASHER

43

YM26116-100162

BOLT

Выбрано товаров: 32