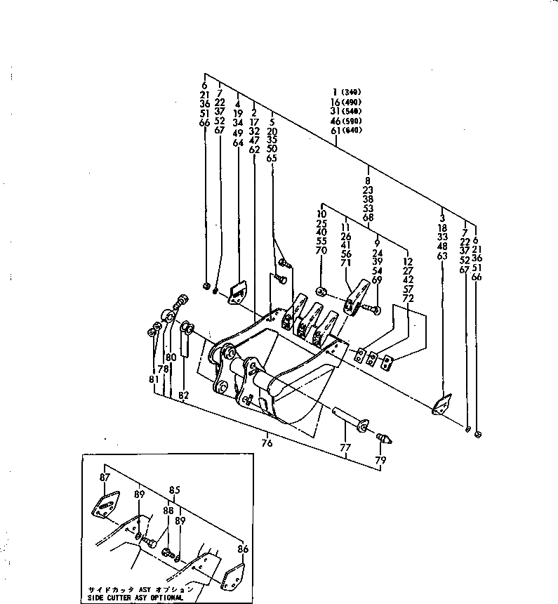
Запчасти Komatsu PC30FR-1 КОВШ (ЗУБЬЯНА БОЛТАХ ТИП) (ДЛЯ НАВЕСН. ОБОРУД.) .M - .M ШИР. ¤9¤¤9 И MM(№-) РАБОЧЕЕ ОБОРУДОВАНИЕ

Схема запчастей Komatsu PC30FR-1 - КОВШ (ЗУБЬЯНА БОЛТАХ ТИП) (ДЛЯ НАВЕСН. ОБОРУД.) .M - .M   ШИР. ¤9¤¤9 И MM(№-) РАБОЧЕЕ ОБОРУДОВАНИЕ
FIT
1:1
100%

Артикул

Название

Примечание

Количество

1

YM77212281421K

BUCKET ASS'Y (340MM)

2

YM17212286401K

BUCKET

3

YM17214286150K

CUTTER,SIDE

4

YM17214286160K

CUTTER,SIDE

5

YM172142-86280

BOLT

6

YM172142-86290

NUT

7

YM22217-140000

WASHER

8

YM77212286123K

TEETH ASS'Y

9

YM172142-81380

BOLT

10

YM172142-81390

NUT

11

YM17211386123K

TEETH

12

YM172137-86710

SHIM SET

16

YM77212281402K

BUCKET ASS'Y (490MM)

17

YM17212286102K

BUCKET

18

YM17214286150K

CUTTER,SIDE

19

YM17214286160K

CUTTER,SIDE

20

YM172142-86280

BOLT

21

YM172142-86290

NUT

22

YM22217-140000

WASHER

23

YM77212286123K

TEETH ASS'Y

24

YM172142-81380

BOLT

25

YM172142-81390

NUT

26

YM17211386123K

TEETH

27

YM172137-86710

SHIM SET

31

YM77212281412K

BUCKET ASS'Y (540MM)

32

YM17212286302K

BUCKET

33

YM17214286150K

CUTTER,SIDE

34

YM17214286160K

CUTTER,SIDE

35

YM172142-86280

BOLT

36

YM172142-86290

NUT

37

YM22217-140000

WASHER

38

YM77212286123K

TEETH ASS'Y

39

YM172142-81380

BOLT

40

YM172142-81390

NUT

41

YM17211386123K

TEETH

42

YM172137-86710

SHIM SET

46

YM77212281432K

BUCKET ASS'Y (590MM)

47

YM17212286602K

BUCKET

48

YM17214286150K

CUTTER,SIDE

49

YM17214286160K

CUTTER,SIDE

50

YM172142-86280

BOLT

51

YM172142-86290

NUT

52

YM22217-140000

WASHER

53

YM77212286123K

TEETH ASS'Y

54

YM172142-81380

BOLT

55

YM172142-81390

NUT

56

YM17211386123K

TEETH

57

YM172137-86710

SHIM SET

61

YM77212281442K

BUCKET ASS'Y (640MM)

62

YM17212286502K

BUCKET

63

YM17214286150K

CUTTER,SIDE

64

YM17214286160K

CUTTER,SIDE

65

YM172142-86280

BOLT

66

YM172142-86290

NUT

67

YM22217-140000

WASHER

68

YM77212286123K

TEETH ASS'Y

69

YM172142-81380

BOLT

70

YM172142-81390

NUT

71

YM17211386123K

TEETH

72

YM172137-86710

SHIM SET

76

YM17216481950K

PIN KIT,BUCKET

77

YM17216481630K

PIN

78

YM172164-81700

COLLAR

79

YM24761-020000

FITTING,GREASE

80

YM26116-100652

BOLT

81

YM26716-100002

NUT

82

YM933171-29751

SHIM SET

85

YM77214281600K

CUTTER ASS'Y,SIDE

86

YM17214286510K

CUTTER,SIDE

87

YM17214286520K

CUTTER,SIDE

88

YM172142-86540

BOLT

89

YM22217-140000

WASHER

Выбрано товаров: 72