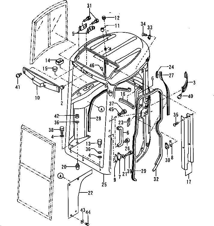
Запчасти Komatsu PC30FR-2 КАБИНА (/) (КАБИНА) КАБИНА ОПЕРАТОРА И СИСТЕМА УПРАВЛЕНИЯ

Схема запчастей Komatsu PC30FR-2 - КАБИНА (/) (КАБИНА) КАБИНА ОПЕРАТОРА И СИСТЕМА УПРАВЛЕНИЯ
FIT
1:1
100%

Артикул

Название

Примечание

Количество

|1A

YM772975-68401

CABIN ASS'Y

|1B

YM772975-68411

CABIN ASS'Y,(COOLER SPEC.)

2

YM172176-67780

GROMMET

3

YM17217667040K

COVER,LINK

4

YM194145-04810

WASHER

5

YM172176-67260

STAY,RADIO

6

YM172176-67181

GRIP

7

YM172176-67341

LINK

8

YM172176-67740

SHIM

9

YM172176-67741

SHIM

10

YM172176-67760

PANEL,FRONT

11

YM172176-67780

GROMMET

12

YM172176-67790

PLUG

13

YM172176-67830

BOLT

14

YM172176-67870

TRAY

15

YM172176-67880

HOLDER

16

YM172176-67900

SEAL

17

YM17217567990K

COVER,HARNESS

20

YM172137-68120

PIN

21

YM172176-68030

WASHER

22

YM172175-68131

TRIM

23

YM172176-68160

GROMMET

24

YM172176-68080

SEAL

25

YM17242268400K

CABIN ASS'Y

26

YM26450-080202

BOLT

27

YM172175-69300

SEAL

28

YM172175-69310

SEAL

29

YM172176-69320

SEAL,DOOR

30

YM172176-69890

LINK

31

YM26013-060162

BOLT

32

YM172176-69780

SEAL

33

YM172162-69071

HANGER

34

YM22867-300080

SCREW

35

YM26589-060162

SCREW

36

YM22217-100000

WASHER

37

YM26013-080162

BOLT

38

YM26013-100302

BOLT

39

YM26013-080202

BOLT

40

YM26022-060162

SCREW

41

YM26022-050162

SCREW

42

YM26716-100002

NUT

43

YM172176-68090

COLLAR

44

YM172176-68140

CLIP

45

YM22157-080000

WASHER

46

YM172122-17190

CLIP

Выбрано товаров: 45