Запчасти Komatsu PC30FR-2 ОБОГРЕВАТЕЛЬ. И АНТИОБЛЕДЕНИТЕЛЬ (КАБИНА) КАБИНА ОПЕРАТОРА И СИСТЕМА УПРАВЛЕНИЯ

Схема запчастей Komatsu PC30FR-2 - ОБОГРЕВАТЕЛЬ. И АНТИОБЛЕДЕНИТЕЛЬ (КАБИНА) КАБИНА ОПЕРАТОРА И СИСТЕМА УПРАВЛЕНИЯ
FIT
1:1
100%

Артикул

Название

Примечание

Количество

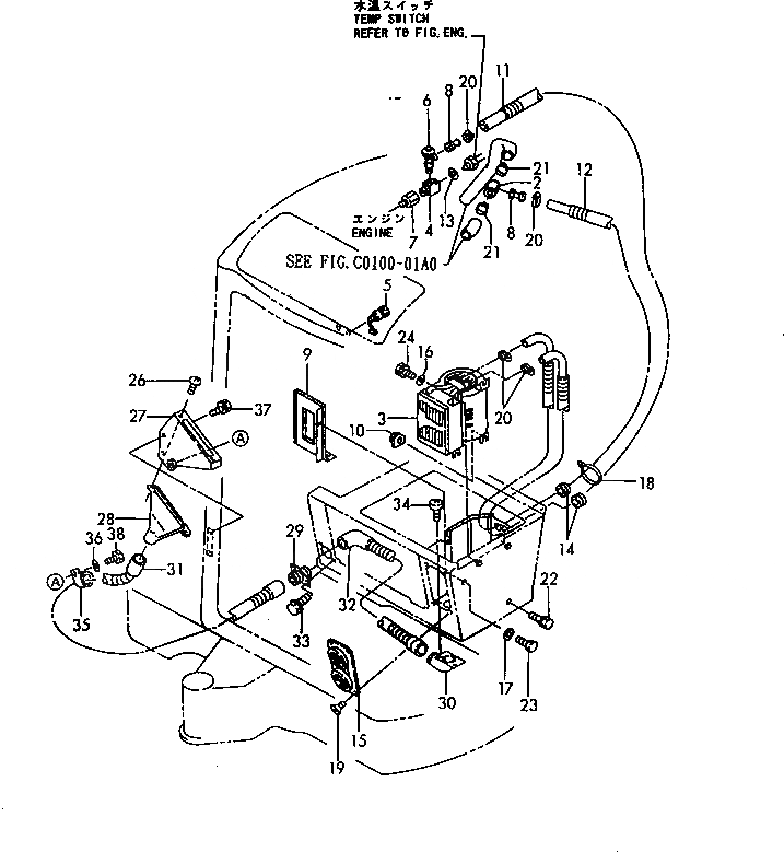
1

YM772175-17600

HEATER ASS'Y

2

YM172141-13490

JOINT

3

YM172162-17601

HEATER

4

YM172168-17600

CONNECTOR

5

YM172162-17610

SWITCH,HEATER

6

YM172124-17630

VALVE

7

YM172137-17630

JOINT,HEATER

8

YM172124-17640

JOINT

9

YM172175-17650

COVER

10

YM172175-17700

PLATE

11

YM172175-17730

HOSE,HEATER

12

YM172175-17760

HOSE,HEATER

13

YM124465-44950

GASKET

14

YM172112-69300

GROMMET

15

YM197821-88070

GRILLE

16

YM22137-100000

WASHER

17

YM22217-080000

WASHER

18

YM933152-09280

BAND

19

YM22869-400120

SCREW

20

YM23000-022000

CLAMP

21

YM23010-038000

CLAMP

22

YM26013-100302

BOLT

23

YM26116-080162

BOLT

24

YM26013-100202

BOLT

25

YM772175-17700

DEFROSTER ASS'Y

26

YM26557-050102

SCREW

27

YM172164-17701

BRACKET

28

YM172120-17710

NOZZLE,DEFROSTER

29

YM172175-17800

CONNECTOR

30

YM172175-17830

ELBOW

31

YM172175-17860

HOSE,DEFROSTER

32

YM172175-17880

HOSE,DEFROSTER

33

YM172519-63240

BOLT

34

YM172137-69850

SCREW

35

YM172158-78250

CLAMP

36

YM22137-100000

WASHER

37

YM26013-080202

BOLT

38

YM26013-100202

BOLT

Выбрано товаров: 38