Запчасти Komatsu PC30FR-2 ОХЛАДИТЕЛЬ (ДЛЯ КАБИНЫ КОМПОНЕНТЫ) (ДЛЯ КАБИНЫ) КАБИНА ОПЕРАТОРА И СИСТЕМА УПРАВЛЕНИЯ

Схема запчастей Komatsu PC30FR-2 - ОХЛАДИТЕЛЬ (ДЛЯ КАБИНЫ КОМПОНЕНТЫ) (ДЛЯ КАБИНЫ) КАБИНА ОПЕРАТОРА И СИСТЕМА УПРАВЛЕНИЯ
FIT
1:1
100%

Артикул

Название

Примечание

Количество

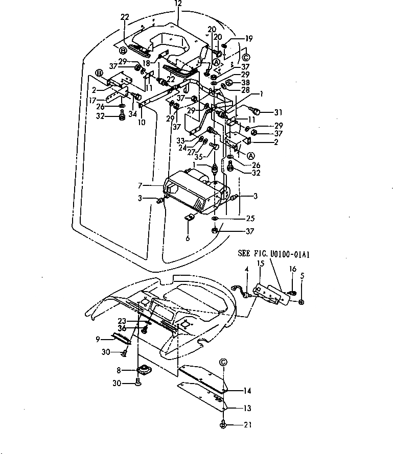
1

YM172122-13310

CUSHION,RADIATOR

2

YM172176-17870

MOUNT

3

YM172162-18070

PLUG,DRAIN

4

YM1E8080-79430

SWITCH ASS'Y,CONTROL

5

YM1E8080-79450

KNOB,FAN

6

YM1E8080-79470

NUT

7

YM198325-87200

CASE,LOWER

8

YM197830-87910

GRILLE

9

YM197830-88611

GRILLE

10

YM172164-18550

BRACKET ASS'Y

11

YM172164-18830

MOUNT

12

YM172164-18900

DUCT

13

YM172164-18910

PLATE

14

YM172164-18920

FILTER

15

YM172164-18960

PANEL ASS'Y

16

YM172164-19100

SWITCH

17

YM172164-19150

BRACKET

18

YM172164-19170

PLATE ASS'Y

19

YM194167-61650

NUT

20

YM194940-61790

SCREW

21

YM194940-61790

SCREW

22

YM172164-65710

RUBBER,SEAL

23

YM172176-68200

WASHER

24

YM22137-050000

WASHER

25

YM22137-080000

WASHER

26

YM22157-080000

WASHER

27

YM22217-050000

WASHER

28

YM22217-080000

WASHER

29

YM22217-080000

WASHER

30

YM22869-400160

SCREW

31

YM26013-080202

BOLT

32

YM26013-080202

BOLT

33

YM26013-080202

BOLT

34

YM26013-080252

BOLT

35

YM26116-050162

BOLT

36

YM26589-060162

SCREW

37

YM26716-080002

NUT

38

YM26716-080002

NUT

Выбрано товаров: 38