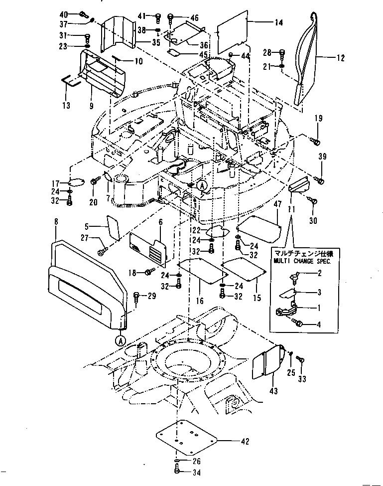
Запчасти Komatsu PC30FR-2 ОСНОВНАЯ РАМА КРЫШКАAND НИЖН. КРЫШКА ЧАСТИ КОРПУСА

Схема запчастей Komatsu PC30FR-2 - ОСНОВНАЯ РАМА КРЫШКАAND НИЖН. КРЫШКА ЧАСТИ КОРПУСА
FIT
1:1
100%

Артикул

Название

Примечание

Количество

|1

YM172175-74650

VALVE KIT

1

YM172175-65351

COVER ASS'Y

2

YM26647-080152

BOLT

3

YM172175-61391

PLATE

4

YM172519-63240

BOLT

5

YM172175-61150

COVER,(FOR CANOPY)

6

YM17216461160K

COVER,LAMP

7

YM172175-61160

COVER

8

YM17217561500K

COVER,(FOR CANOPY)

9

YM172175-61300

COVER

10

YM172175-61330

MOLDING

11

YM172175-61340

COVER,SEAT

12

YM17216461401K

COVER,(FOR CANOPY)

13

YM172175-61430

MOLE

14

YM172175-61441

COVER,(FOR CANOPY)

15

YM17216861500K

PLATE

16

YM17216861510K

PLATE

17

YM17216861560K

PLATE

18

YM172519-63240

BOLT

19

YM172519-63240

BOLT,(FOR CANOPY)

20

YM172519-63240

BOLT

21

YM22137-100000

WASHER,(FOR CANOPY)

22

YM17242261130K

PLATE

23

YM22217-080000

WASHER

24

YM22217-100000

WASHER

25

YM22217-100000

WASHER

26

YM22217-120000

WASHER,SPRING

27

YM22879-400120

SCREW,(FOR CANOPY)

28

YM26013-100252

BOLT,(FOR CANOPY)

29

YM26013-120302

BOLT,(FOR CANOPY)

30

YM172519-63240

BOLT

31

YM26116-080162

BOLT

32

YM26116-100202

BOLT

33

YM26116-100202

BOLT

34

YM26116-120252

BOLT

35

YM172175-61181

COVER

36

YM172175-61221

COVER

37

YM22217-080000

WASHER

38

YM22217-080000

WASHER

39

YM26013-080252

BOLT

40

YM26116-080162

BOLT

41

YM26116-080162

BOLT

42

YM17214150761K

COVER,UNDER

43

YM17214861100K

COVER,TRAVEL

44

YM194300-21460

CAP,(FOR CANOPY)

45

YM172175-61480

PLATE,SEAT

46

YM26013-080162

BOLT

47

YM17217561120K

PLATE

Выбрано товаров: 48