Запчасти Komatsu PC30MR-1 АККУМУЛЯТОР ЭЛЕКТРОПРОВОДКА ЭЛЕКТРИКА

Схема запчастей Komatsu PC30MR-1 - АККУМУЛЯТОР ЭЛЕКТРОПРОВОДКА ЭЛЕКТРИКА
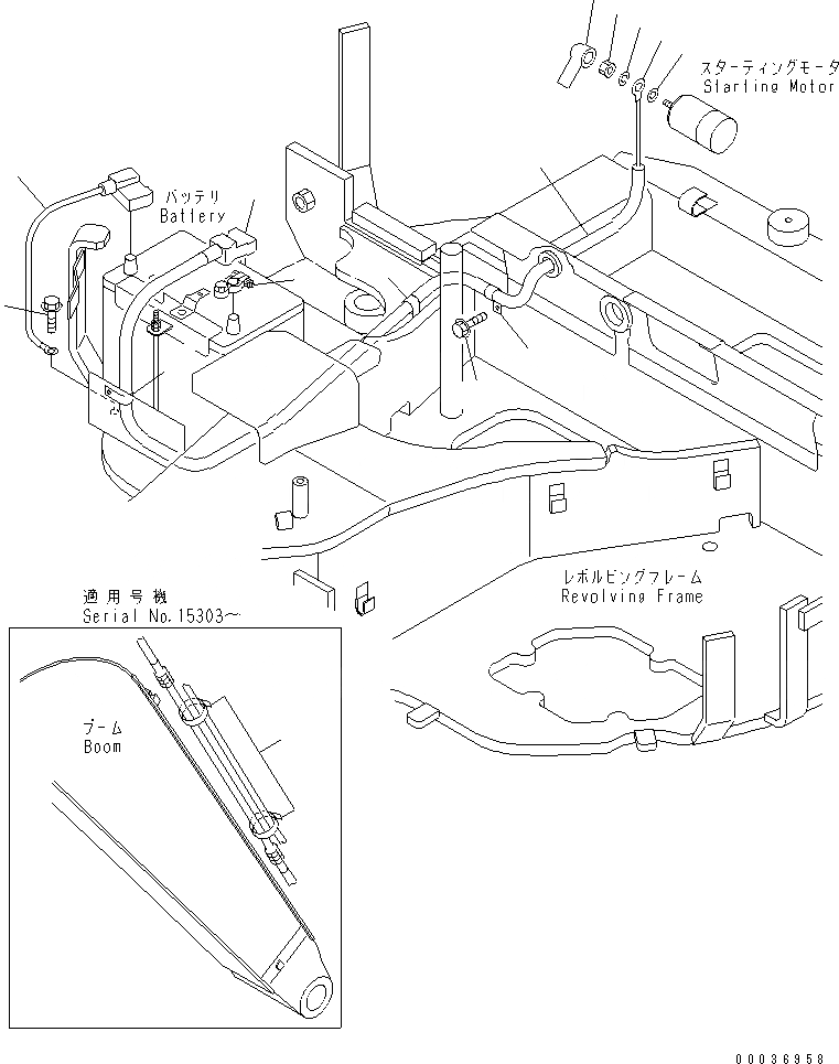
1
2
3
3
4
5
6
7
8
9
10
10
10
11
12
FIT
1:1
100%

Артикул

Название

Примечание

Количество

1

08000-00000

TERMINAL, (+)

2

08038-42009

CAP

3

21U-06-31112

CABLE,BATTERY

3

21U-06-31111

CABLE,BATTERY

4

08038-00035

CAP

5

01580-10806

NUT

6

01602-20825

WASHER,SPRING

7

01640-20816

WASHER

8

21U-06-31610

CABLE

9

01435-00816

BOLT

10

04434-51610

CLIP

11

01435-01020

BOLT

12

08034-30521

BAND

Выбрано товаров: 13