Запчасти Komatsu PC30MR-2-C РУКОЯТЬ CRANE (ПРОБЛЕСК. МАЯК) (НАВЕС) СПЕЦ. ОПЦИИ

Схема запчастей Komatsu PC30MR-2-C - РУКОЯТЬ CRANE (ПРОБЛЕСК. МАЯК) (НАВЕС) СПЕЦ. ОПЦИИ
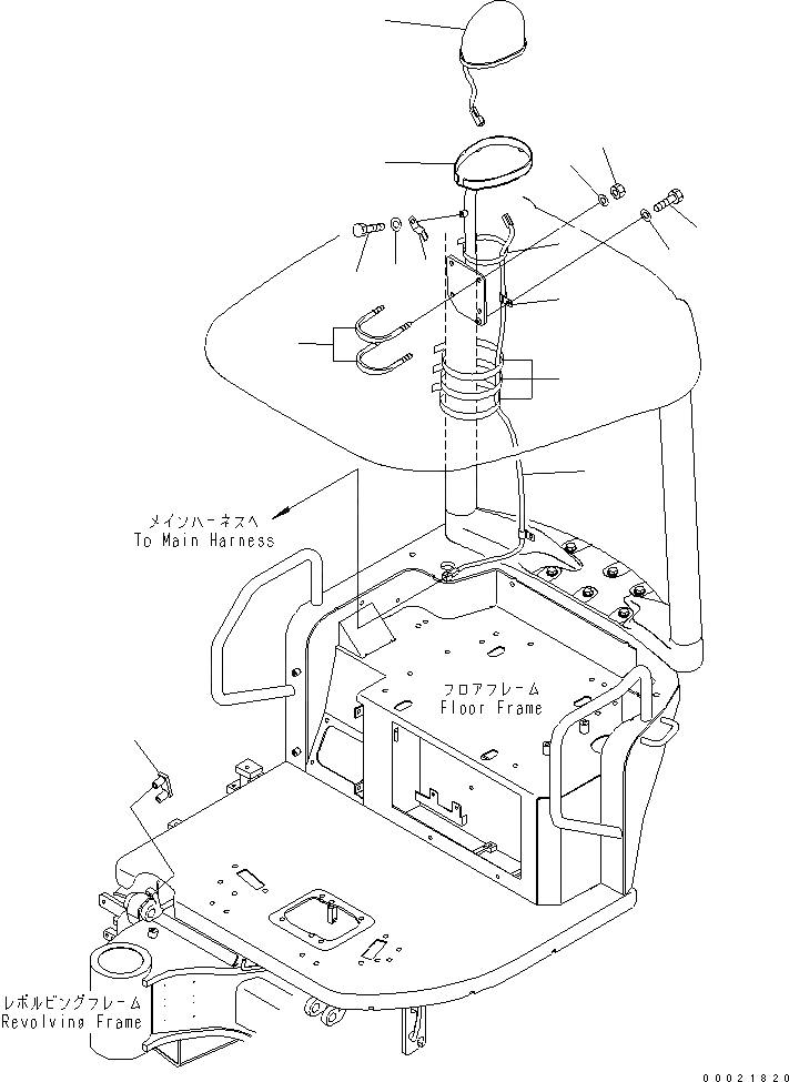
1
2
3
4
5
6
7
7
8
9
10
11
12
13
14
FIT
1:1
100%

Артикул

Название

Примечание

Количество

1

22L-06-22140

LAMP

|1

22M-968-2120

BULB

2

22L-06-22150

WIRING HARNESS

3

22L-54-24120

BRACKET

4

07283-38370

CLIP

5

01597-01211

NUT

6

01643-71232

WASHER

7

08034-20536

BAND

8

04434-51008

CLIP

9

08193-20010

CLIP

10

01010-80812

BOLT

11

01643-30823

WASHER

12

01010-80816

BOLT

13

01643-30823

WASHER

14

22L-54-24130

CLAMP

Выбрано товаров: 15