Качественные детали и логистика
Оригинальные и аналоговые запчасти с доставкой по России, Казахстану и Беларуси
©2022 PartSell ООО "Система" ИНН 2463123282 ОГРН 1212400004838
Центральный офис: г. Красноярск, Академика Киренского, д.87, пом.4
Телефон: 8 (800) 777-65-74 Email: zakaz@partsell.ru
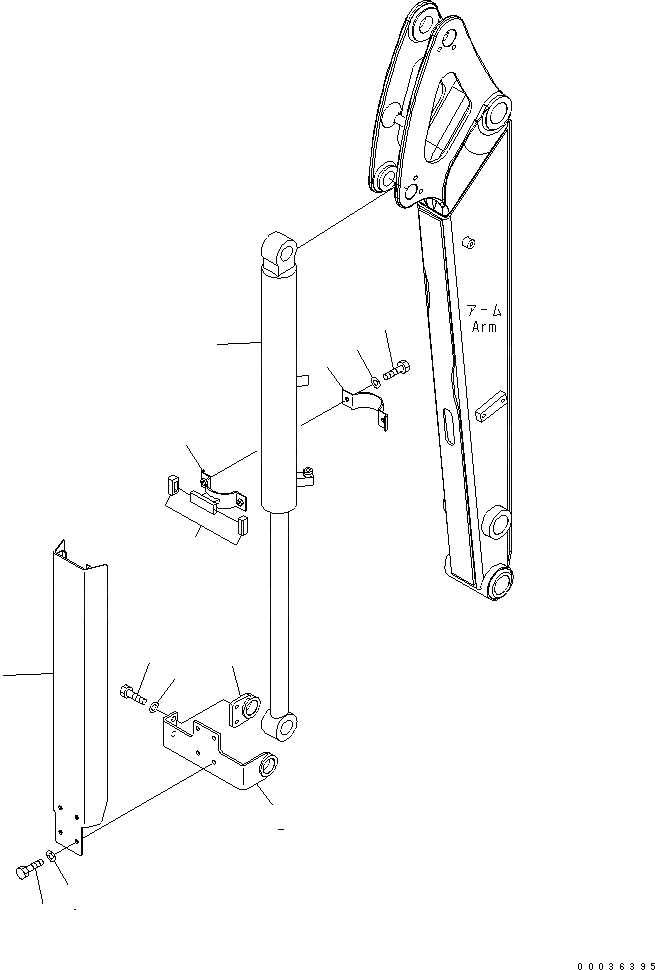
ЦИЛИНДР КОВША И КРЫШКА(ДЛЯ KOREA)
№
Артикул
Название
Примечание
Количество
1
707-00-XE530
CYLINDER GROUP,(SEE FIG.Y1620-41A0)
2
22L-62-23480
BRACKET
3
22L-62-23490
4
01010-81020
BOLT
5
01643-31032
WASHER
6
22L-62-23510
GUARD
7
01010-80825
8
01643-30823
9
22L-62-23470
GUIDE
10
20M-62-73310
11
22L-62-23460
CLAMP
12
13
Выбрано товаров: 0