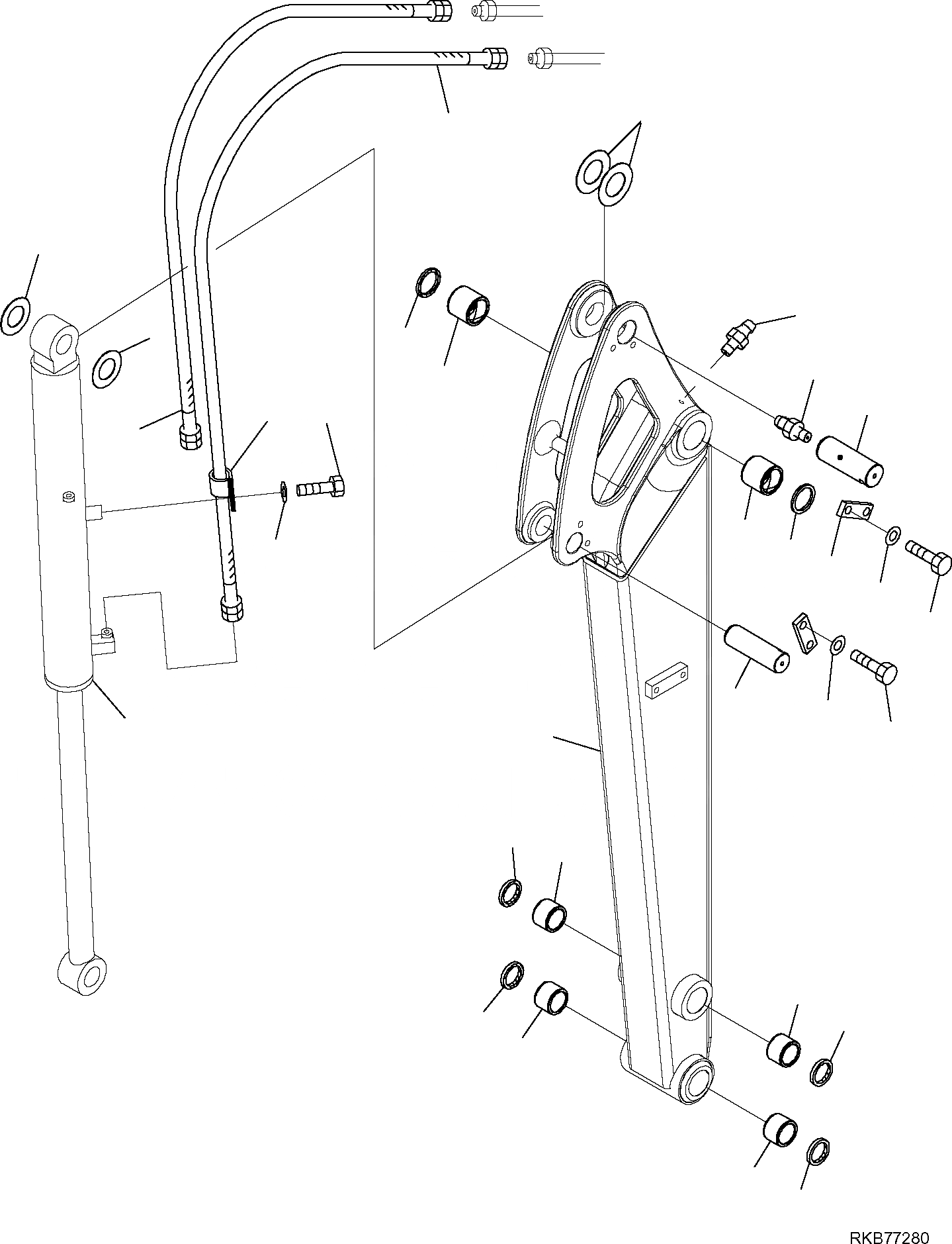
Запчасти Komatsu PC30MR-2 ГИДРОЛИНИЯ (РУКОЯТЬ ЛИНИЯ) (С EXTENSION) (/) РАБОЧЕЕ ОБОРУДОВАНИЕ

Схема запчастей Komatsu PC30MR-2 - ГИДРОЛИНИЯ (РУКОЯТЬ ЛИНИЯ) (С EXTENSION) (/) РАБОЧЕЕ ОБОРУДОВАНИЕ
8
11
7
6
7
4
18
2
17
13
14
12
2
15
4
19
10
9
16
10
20
9
1
5
3
3
5
5
3
3
5
FIT
1:1
100%

Артикул

Название

Примечание

Количество

1

22L-70-R2910

ARM

2

20S-70-R1290

BUSHING

3

22L-70-21530

BUSHING

4

07145-00040

SEAL DUST

5

22L-70-21550

GASKET

6

07020-00675

GREASE NIPPLE

7

20N-70-41270

SHIM, 1.000 mm

8

500119634

SHIM, 1.000 mm

9

01010-81230

BOLT

10

01643-11232

WASHER

11

22L-62-R3230

HOSE

12

22L-62-R3240

HOSE

13

04434-51912

CLAMP

14

01010-81020

BOLT

15

01643-11032

WASHER

16

22L-70-21561

PIN

17

22L-70-21240

PIN

18

07020-00000

GREASE NIPPLE

19

04082-00212

BLOCK

20

707-00-0Y340

CYLINDER ASSY. BUCKET

Выбрано товаров: 20