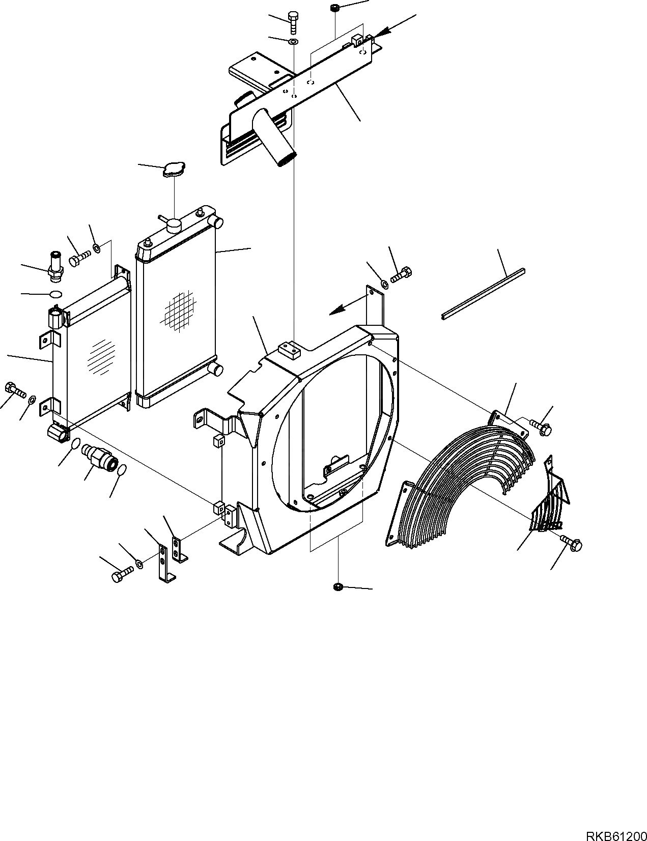
Запчасти Komatsu PC30MR-2 РАДИАТОР (С КОНДИЦИОНЕРОМ) (/) КОМПОНЕНТЫ ДВИГАТЕЛЯ И ЭЛЕКТРИКА

Схема запчастей Komatsu PC30MR-2 - РАДИАТОР (С КОНДИЦИОНЕРОМ) (/) КОМПОНЕНТЫ ДВИГАТЕЛЯ И ЭЛЕКТРИКА
3
20
22
19
2
8
7
21
28
1
23
9
10
18
4
24
25
5
6
13
11
14
12
15
17
16
26
27
3
a
a
FIT
1:1
100%

Артикул

Название

Примечание

Количество

1

22L-03-21111

RADIATOR, ASSY.

2

203-03-51360

PLUG

3

08037-01008

GROMMET

4

22L-03-21121

OIL COOLER

5

01010-81020

BOLT

6

01643-11832

WASHER

7

01010-80816

BOLT

8

01643-10823

WASHER

9

3F0565073

UNION

10

855670031

O-RING

11

22L-62-R2621

UNION

12

37B-09-15021

O-RING

13

890001239

O-RING

14

22L-03-21430

PLATE

15

22L-03-21440

PLATE

16

01016-50825

BOLT

17

01643-10823

WASHER

18

22L-03-R1132

CONVEYOR

19

22L-03-R1141

BRACKET

20

01010-80820

BOLT

21

01010-80820

BOLT

22

01643-10823

WASHER

23

01643-10823

WASHER

24

22L-03-21212

PROTECTION

25

01435-00814

BOLT

26

22L-03-21610

PROTECTION

27

01435-00814

BOLT

28

22L-09-R2970

GASKET

Выбрано товаров: 28