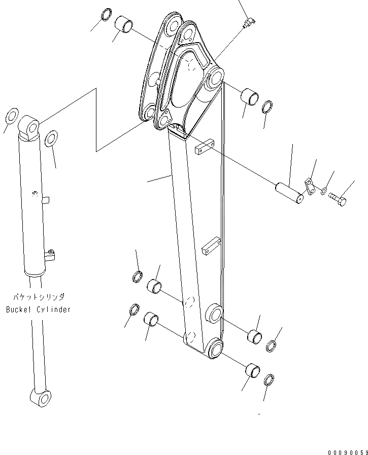
Запчасти Komatsu PC30MR-3 РУКОЯТЬ (УСИЛЕНН.) (ДЛЯ НАВЕСН. ОБОРУД.)(№-) РАБОЧЕЕ ОБОРУДОВАНИЕ

Схема запчастей Komatsu PC30MR-3 - РУКОЯТЬ (УСИЛЕНН.) (ДЛЯ НАВЕСН. ОБОРУД.)(№-) РАБОЧЕЕ ОБОРУДОВАНИЕ
1
2
2
3
3
3
3
4
4
5
5
5
5
6
7
8
9
10
11
11
FIT
1:1
100%

Артикул

Название

Примечание

Количество

|$5

22L-70-32200

ARM ASS'Y

1

ARM

2

22F-70-32820

BUSHING

3

22F-70-31630

BUSHING

4

07145-00040

SEAL,DUST

5

22L-70-21550

SEAL,DUST

6

07020-00675

FITTING,GREASE

7

22L-70-21561

PIN

8

04082-00212

LOCK

9

01010-81230

BOLT

10

01643-31232

WASHER

11

20N-70-41270

SPACER, 1.0MM

11

22K-70-11150

SPACER, 0.5MM

Выбрано товаров: 13