Запчасти Komatsu PC30MR-3 KOMTRAX (КАБИНА)(№-) ЭЛЕКТРИКА

Схема запчастей Komatsu PC30MR-3 - KOMTRAX (КАБИНА)(№-) ЭЛЕКТРИКА
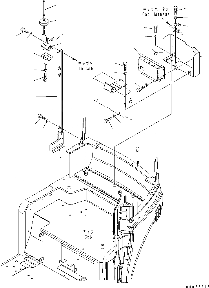
1
2
3
4
5
5
6
6
7
8
9
10
11
12
13
14
15
16
17
18
19
20
21
22
23
24
25
26
FIT
1:1
100%

Артикул

Название

Примечание

Количество

1

22F-06-31640

COVER

2

01010-D0816

BOLT

3

01643-70823

WASHER

4

22F-06-31650

COVER

5

01010-D0820

BOLT

6

01643-70823

WASHER

7

08053-01510

CLIP

8

01010-81016

BOLT

9

01643-31032

WASHER

10

7826-24-3000

CONTROLLER

11

01010-80816

BOLT

12

01643-30823

WASHER

13

8A13-10-2260

ANTENNA

14

8A13-10-2270

ANTENNA

15

08017-C0717

BAND

16

08034-20519

BAND

17

22F-06-32211

BRACKET

18

01010-D1020

BOLT

19

01643-71032

WASHER

20

22F-06-32220

COVER

21

01010-D0612

BOLT

22

01643-70623

WASHER

23

22F-06-32230

COVER

24

01010-D1025

BOLT

25

01643-71032

WASHER

26

22F-06-32240

SEAL

Выбрано товаров: 26