Запчасти Komatsu PC30MR-3 СИДЕНЬЕ ОПЕРАТОРА (№7-) СИДЕНЬЕ ОПЕРАТОРА, СИДЕНЬЕ ОПЕРАТОРА, ЖЕСТК., С ОТКИДН. СПИНКОЙ

Схема запчастей Komatsu PC30MR-3 - СИДЕНЬЕ ОПЕРАТОРА (№7-) СИДЕНЬЕ ОПЕРАТОРА, СИДЕНЬЕ ОПЕРАТОРА, ЖЕСТК., С ОТКИДН. СПИНКОЙ
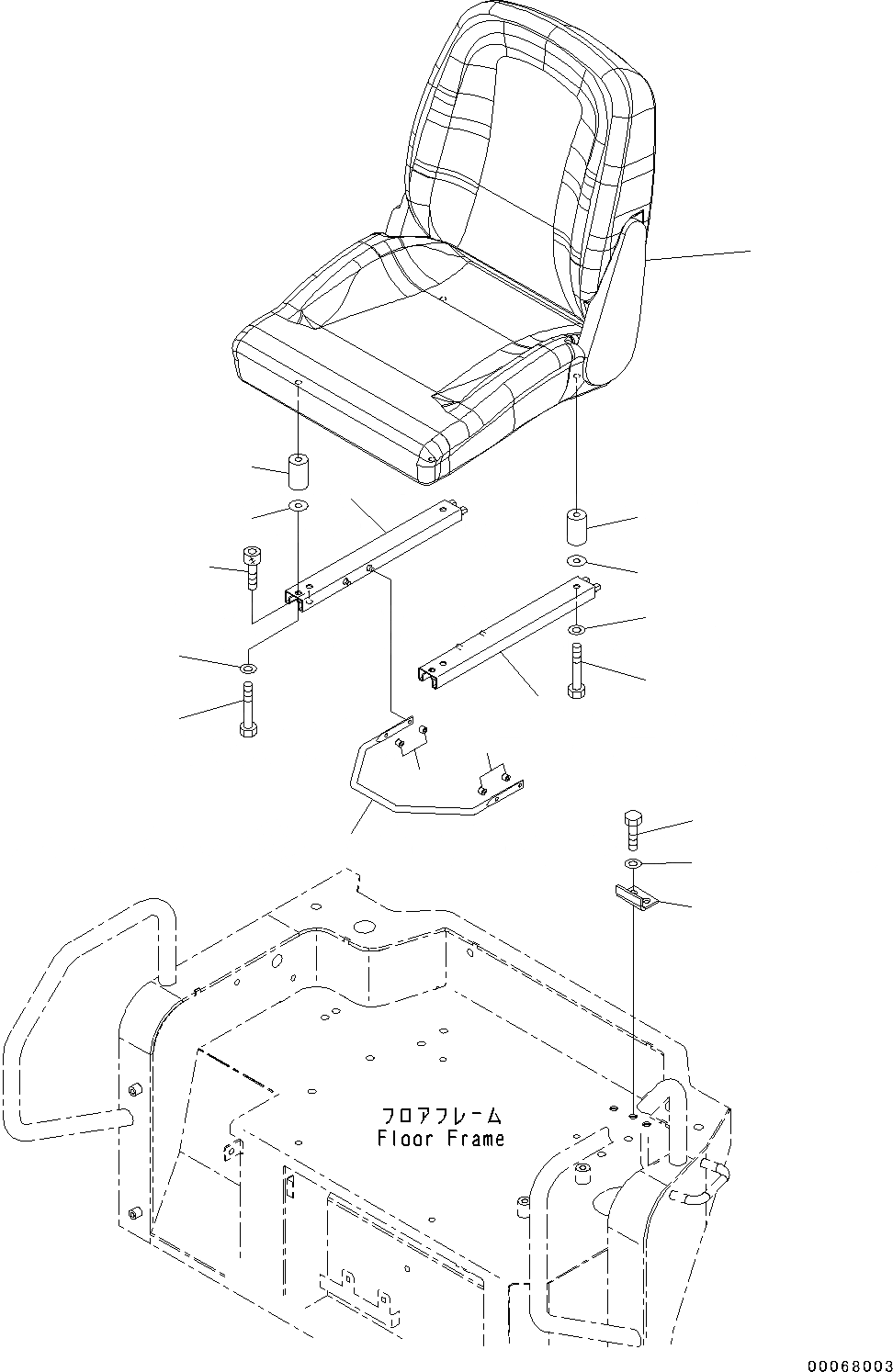
11
10
13
12
7
6
8
9
5
5
7
9
8
4
3
2
1
6
FIT
1:1
100%

Артикул

Название

Примечание

Количество

|$0

22M-57-21131

Operator's Seat Assembly

1

22M-57-21150

Seat Assembly

2

22M-57-21160

Lever

3

22M-57-21170

Adjuster,L.H.

4

22M-57-21180

Adjuster,R.H.

5

22M-57-21190

Seat

6

22M-43-21410

Nut

7

22M-57-21440

Spacer

8

22M-57-21530

Bolt

9

22M-57-21430

Washer

10

01252-70816

Bolt

11

22M-57-21212

Stopper

12

01010-D1020

Bolt

13

01643-71032

Washer

Выбрано товаров: 0