Качественные детали и логистика
Оригинальные и аналоговые запчасти с доставкой по России, Казахстану и Беларуси
©2022 PartSell ООО "Система" ИНН 2463123282 ОГРН 1212400004838
Центральный офис: г. Красноярск, Академика Киренского, д.87, пом.4
Телефон: 8 (800) 777-65-74 Email: zakaz@partsell.ru
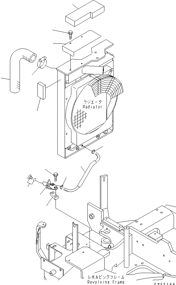
ДРЕНАЖН. ТРУБЫ (ДЛЯ КРОМЕ ЯПОН.)
№
Артикул
Название
Примечание
Количество
1
21U-03-31181
COCK
2
21U-03-31370
BOSS
3
21U-03-32140
PLATE
4
01435-01035
BOLT
5
21U-03-31361
HOSE ASS'Y
6
07285-00115
CLIP
7
21U-01-31361
HOSE
8
07280-06429
CLAMP
9
21U-03-31342
10
21U-03-31410
SHEET
11
01435-00816
12
21U-03-31390
Выбрано товаров: 0