Качественные детали и логистика
Оригинальные и аналоговые запчасти с доставкой по России, Казахстану и Беларуси
©2022 PartSell ООО "Система" ИНН 2463123282 ОГРН 1212400004838
Центральный офис: г. Красноярск, Академика Киренского, д.87, пом.4
Телефон: 8 (800) 777-65-74 Email: zakaz@partsell.ru
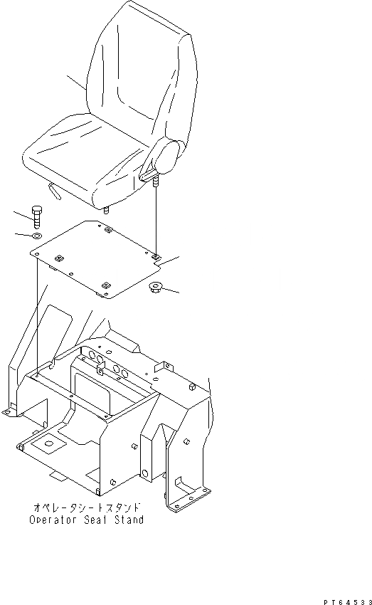
СИДЕНЬЕ ОПЕРАТОРА (С КОНДИЦИОНЕРОМ)
№
Артикул
Название
Примечание
Количество
1
21U-57-31110
SEAT ASS'Y
2
01584-00806
NUT
3
22L-979-1223
BRACKET
4
01010-80820
BOLT
5
01643-30823
WASHER
Выбрано товаров: 0