Запчасти Komatsu PC310-5 ПЕДАЛЬ УПРАВЛ-Я (С ДОПОЛН. ГИДРОЛИНИЕЙ) УПРАВЛ-Е РАБОЧИМ ОБОРУДОВАНИЕМ

Схема запчастей Komatsu PC310-5 - ПЕДАЛЬ УПРАВЛ-Я (С ДОПОЛН. ГИДРОЛИНИЕЙ) УПРАВЛ-Е РАБОЧИМ ОБОРУДОВАНИЕМ
FIT
1:1
100%

Артикул

Название

Примечание

Количество

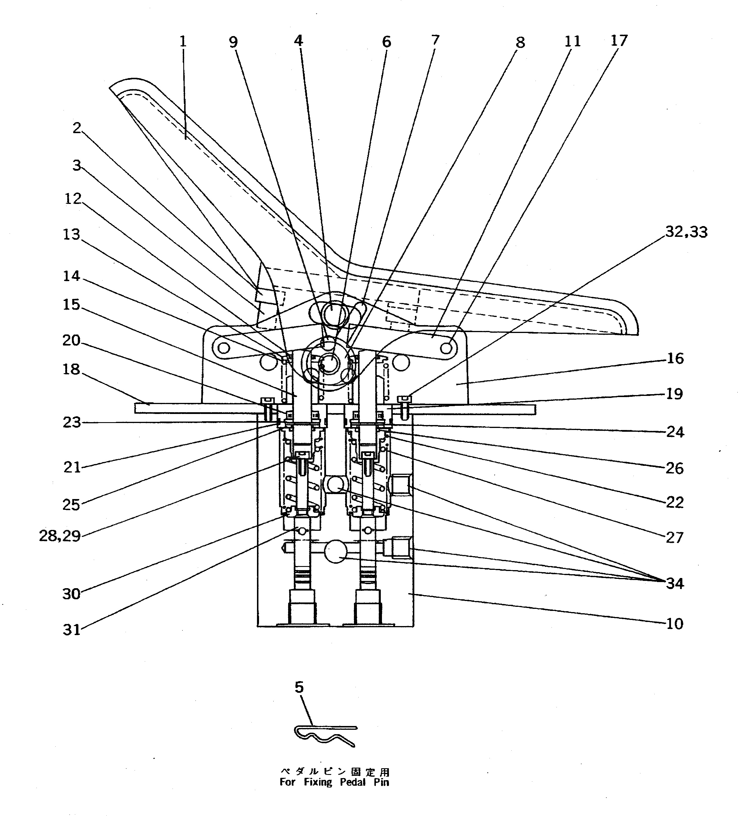
|1

20Y-970-1711

PEDAL ASS'Y

|1

BKMH-003

PEDAL ASS'Y

1

PEDAL

2

NUT

3

BOLT

|4

BKMH-006

PEDAL PIN ASS'Y

4

PIN

5

PIN

|6

BKMH-028

STOPPER ASS'Y

6

STOPPER

7

PIN

8

BUSHING

9

SCREW

|10

BKMH-001

VALVE ASS'Y

10

BODY

11

LEVER

12

RING

13

SEAT

14

SPRING

15

PIN

16

COVER

17

PIN

18

PLATE

19

PLUG

20

SEAL

21

O-RING

22

SPRING

23

RING¤ SNAP

24

RING

25

SHIM

26

O-RING

27

SPRING

28

BOLT

29

WASHER

30

PLUG

31

ROD

32

BOLT

33

WASHER

34

PLUG

Выбрано товаров: 39