Запчасти Komatsu PC310-5 ROCK КОВШ .M¤ MM РАБОЧЕЕ ОБОРУДОВАНИЕ

Схема запчастей Komatsu PC310-5 - ROCK КОВШ .M¤ MM РАБОЧЕЕ ОБОРУДОВАНИЕ
FIT
1:1
100%

Артикул

Название

Примечание

Количество

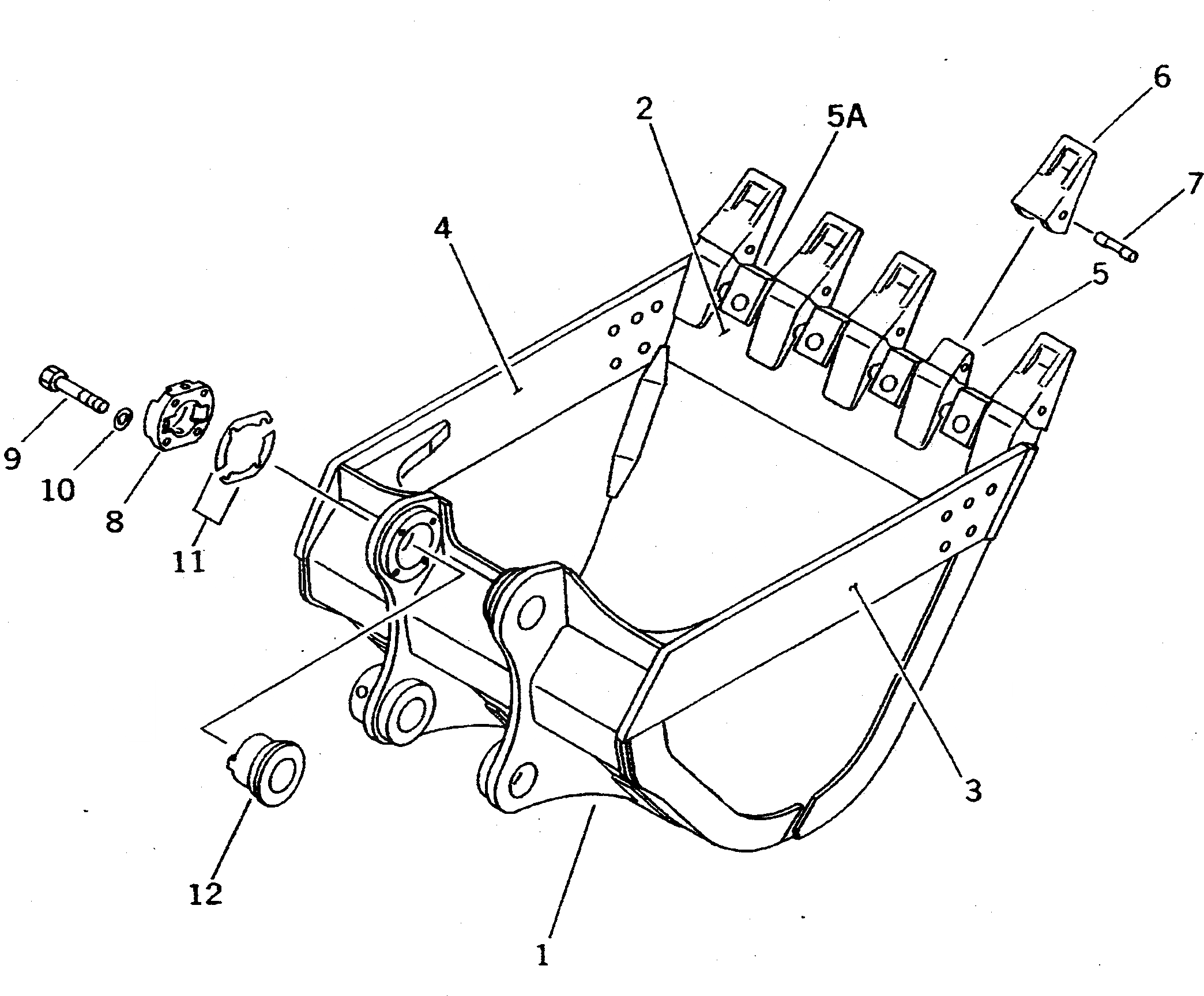
G-1

207-934-X110

BUCKET GROUP

1

207-934-5110

BUCKET

2

207-934-5150

PLATE (WELDED)

3

207-934-5131

PLATE,L.H. (WELDED)

|3

207-934-5130

PLATE,L.H. (WELDED)

4

207-934-5141

PLATE,R.H. (WELDED)

|4

207-934-5140

PLATE,R.H. (WELDED)

5

207-934-5120

ADAPTER (WELDED)

5A

208-934-5170

SHROUD (WELDED)

6

207-70-14151

TOOTH

7

09244-02516

PIN

8

207-70-34240

COVER

9

01010-32065

BOLT

|9

01010-52065

BOLT

10

01643-32060

WASHER

G-2

207-934-X120

PARTS GROUP,INDIVIDUALLY FORWARDING

11

207-70-00060

SHIM ASS'Y

|11

SHIM¤ 0.5MM

|11

SHIM¤ 0.5MM

|11

SHIM¤ 1.0MM

|11

SHIM¤ 1.0MM

12

207-70-34230

BUSHING

Выбрано товаров: 22