Запчасти Komatsu PC310-5 КАПОТ(№8-) ЧАСТИ КОРПУСА

Схема запчастей Komatsu PC310-5 - КАПОТ(№8-) ЧАСТИ КОРПУСА
FIT
1:1
100%

Артикул

Название

Примечание

Количество

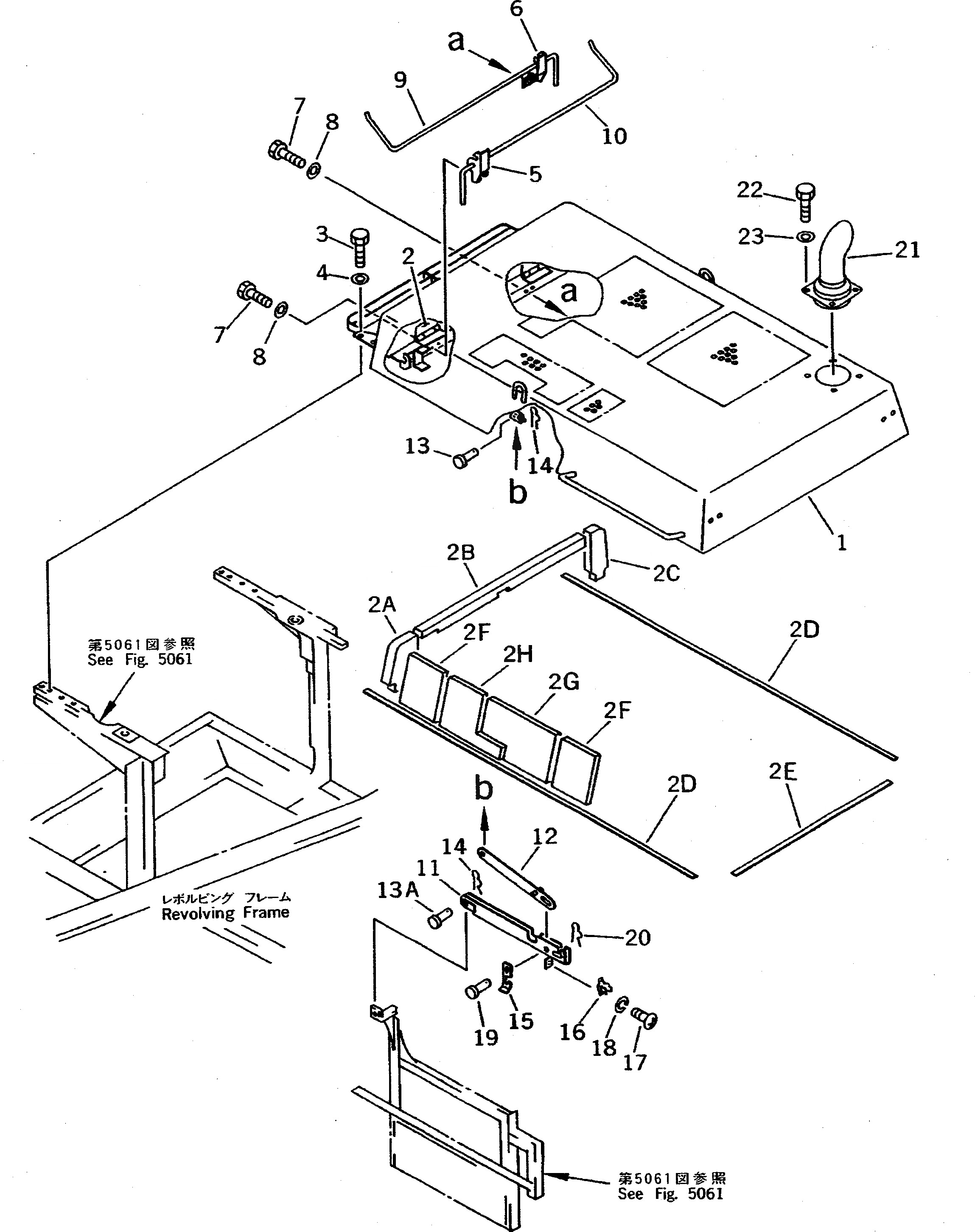
1

207-54-52112

HOOD

2

205-54-75362

HINGE (WELDED)

2A

207-54-52151

SHEET

2B

207-54-52161

SHEET

2C

207-54-52171

SHEET

2D

207-54-52181

SHEET

2E

207-54-52191

SHEET

2F

207-54-52480

SHEET

2G

207-54-52490

SHEET

2H

207-54-52510

SHEET

3

01010-51230

BOLT

4

175-54-34170

WASHER

4A

07049-01215

PLUG

5

207-54-52251

BRACKET

6

207-54-52261

BRACKET

7

01010-51250

BOLT

8

01643-31232

WASHER

9

207-54-52232

SPRING

10

207-54-52242

SPRING

11

207-54-52120

STAY

12

207-54-52130

STAY

13

04205-31230

PIN

13A

04205-31238

PIN

14

04052-01253

PIN,SNAP

15

207-54-52380

PLATE

16

20B-54-12210

SPRING

17

01220-40410

SCREW

18

01601-20410

WASHER,SPRING

19

04205-31235

PIN

20

04052-01253

PIN,SNAP

21

207-01-52110

PIPE,TAIL

22

01010-51230

BOLT

23

01643-31232

WASHER

Выбрано товаров: 33