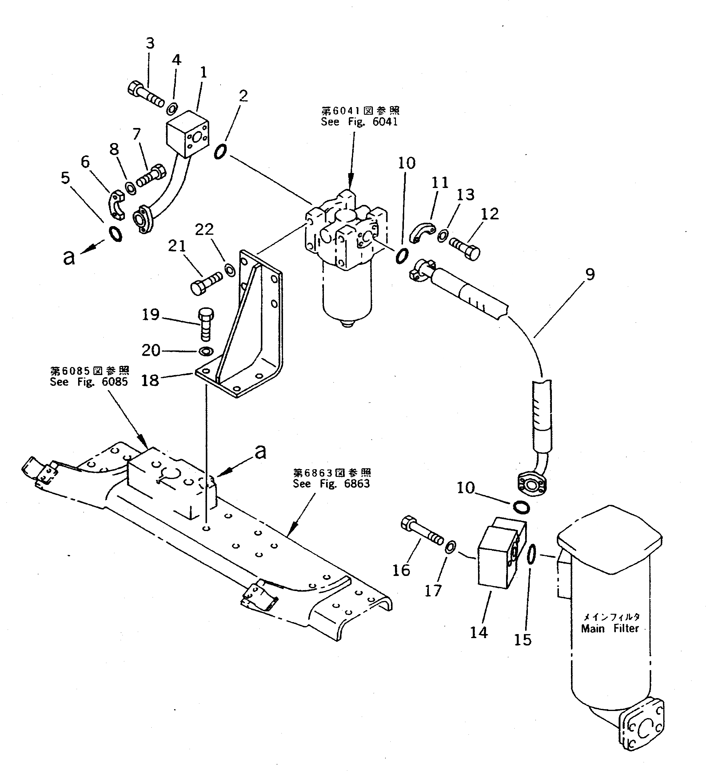
Запчасти Komatsu PC310LC-5 ДОПОЛН. ГИДРОЛИНИЯ (ВОЗВРАТ.) УПРАВЛ-Е РАБОЧИМ ОБОРУДОВАНИЕМ

Схема запчастей Komatsu PC310LC-5 - ДОПОЛН. ГИДРОЛИНИЯ (ВОЗВРАТ.) УПРАВЛ-Е РАБОЧИМ ОБОРУДОВАНИЕМ
FIT
1:1
100%

Артикул

Название

Примечание

Количество

G-1

207-970-X110

ATT. PIPING KIT

1

207-970-5241

TUBE

2

07000-13038

O-RING

3

01010-51090

BOLT

4

01643-31032

WASHER

5

07000-13038

O-RING

6

07371-31255

FLANGE

7

07372-21035

BOLT

8

01643-31032

WASHER

9

07298-01209

HOSE

10

07000-13038

O-RING

11

07371-31255

FLANGE

12

07372-21035

BOLT

13

01643-31032

WASHER

14

207-970-5262

BLOCK

15

07000-13048

O-RING

16

01011-51200

BOLT

17

01643-31232

WASHER

18

207-970-5130

BRACKET

19

01010-51240

BOLT

20

01643-31232

WASHER

21

01010-51635

BOLT

22

01643-31645

WASHER

Выбрано товаров: 23