Запчасти Komatsu PC340LC-6K-J ДОПОЛН. РАБОЧ. ОСВЕЩЕНИЕ ЭЛЕКТРИКА

Схема запчастей Komatsu PC340LC-6K-J - ДОПОЛН. РАБОЧ. ОСВЕЩЕНИЕ ЭЛЕКТРИКА
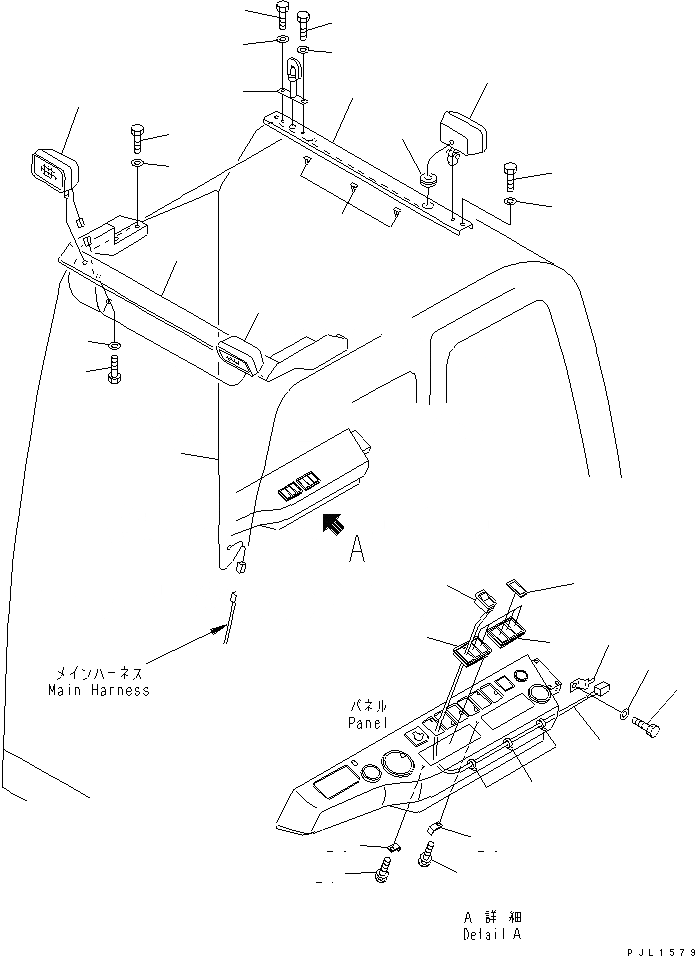
1
2
3
4
5
6
7
8
9
10
11
12
13
13
14
15
16
17
18
19
20
21
22
23
24
25
25
26
26
27
27
28
FIT
1:1
100%

Артикул

Название

Примечание

Количество

1

20E-54-K2281

BRACKET

2

01010-81220

BOLT

3

01643-31232

WASHER

4

01643-30823

WASHER

5

01010-80816

BOLT

6

01643-30823

WASHER

7

01010-80816

BOLT

8

20E-54-K2271

BRACKET

9

205-06-K1223

WORK LAMP ASS'Y

|9

205-06-K1890

BULB¤ 70W

10

20Y-54-K8710

BRACKET

11

01010-80855

BOLT

12

01643-30823

WASHER

13

205-06-K1223

WORK LAMP ASS'Y

|13

205-06-K1890

BULB¤ 70W

14

20Y-54-K8721

WIRING HARNESS

15

08037-02512

GROMMET

16

205-54-K4030

CLIP

17

01010-80816

BOLT

18

01643-30823

WASHER

19

207-06-K2260

WIRING HARNESS

20

08034-00310

BAND

21

08053-01510

CLIP

22

01010-80885

BOLT

23

01643-30823

WASHER

24

207-06-K2270

SWITCH

25

207-06-K2290

BRACKET

26

20E-06-K1920

BRACKET

27

01023-10510

SCREW

28

20E-06-K1610

COVER

Выбрано товаров: 30