Запчасти Komatsu PC340LC-6K-J ОСНОВН. ЛИНИЯ PPC (ДОПОЛН. PPC ЛИНИЯ) ( АКТУАТОР)(№79-) ГИДРАВЛИКА

Схема запчастей Komatsu PC340LC-6K-J - ОСНОВН. ЛИНИЯ PPC (ДОПОЛН. PPC ЛИНИЯ) ( АКТУАТОР)(№79-) ГИДРАВЛИКА
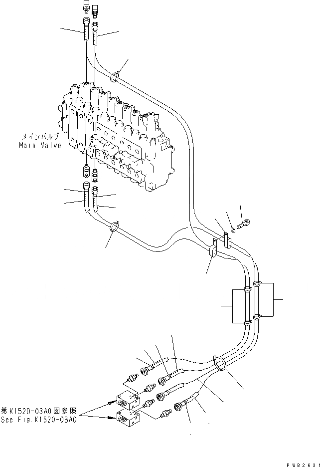
1
2
2
3
3
4
4
4A
5
6
6
7
7
8
8
9
9
10
11
12
12
12
FIT
1:1
100%

Артикул

Название

Примечание

Количество

1

08034-00536

BAND

2

20Y-62-25521

HOSE¤ 1400MM

3

20Y-62-22840

BAND¤ BLACK

4

20Y-62-25531

HOSE¤ 1700MM

4A

20Y-62-22860

BAND¤ BROWN

5

08034-00536

BAND

6

20Y-62-23421

HOSE¤ 1300MM

7

20Y-62-22810

BAND¤ YELLOW

8

20Y-62-23431

HOSE¤ 1600MM

9

21T-72-23270

CLIP

10

01010-81225

BOLT

11

01643-31232

WASHER

12

08034-00536

BAND

Выбрано товаров: 13