Качественные детали и логистика
Оригинальные и аналоговые запчасти с доставкой по России, Казахстану и Беларуси
©2022 PartSell ООО "Система" ИНН 2463123282 ОГРН 1212400004838
Центральный офис: г. Красноярск, Академика Киренского, д.87, пом.4
Телефон: 8 (800) 777-65-74 Email: zakaz@partsell.ru
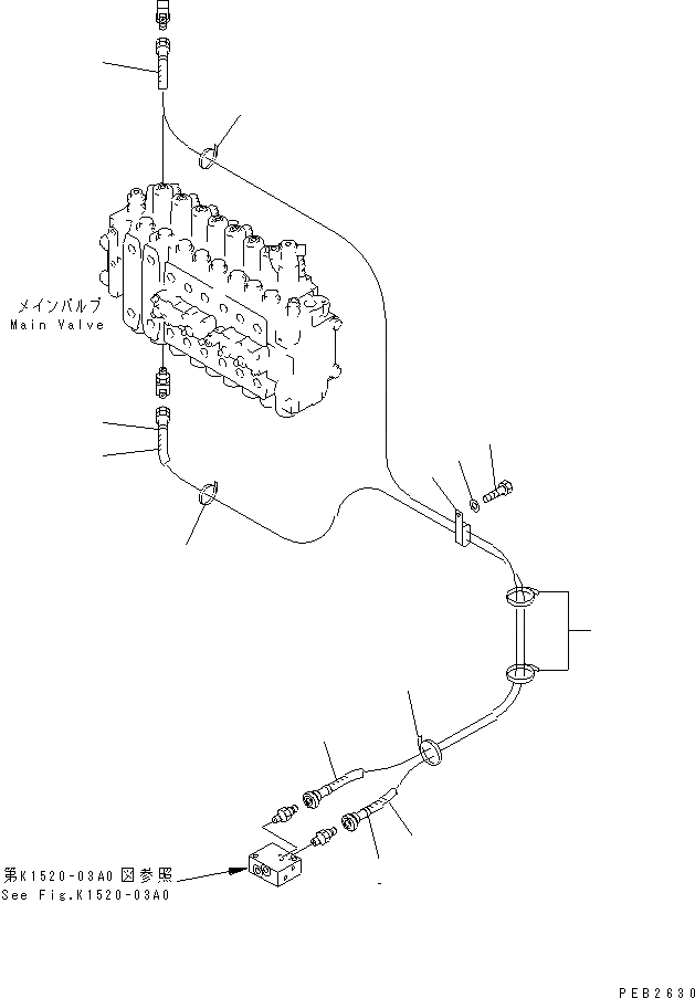
ОСНОВН. ЛИНИЯ PPC (ДОПОЛН. PPC ЛИНИЯ) ( АКТУАТОР)
№
Артикул
Название
Примечание
Количество
1
08034-00536
BAND
2
20Y-62-23421
HOSE¤ 1300MM
3
20Y-62-22810
BAND¤ YELLOW
4
20Y-62-23431
HOSE¤ 1600MM
5
21T-72-23270
CLIP
6
01010-81225
BOLT
7
01643-31232
WASHER
8
Выбрано товаров: 0