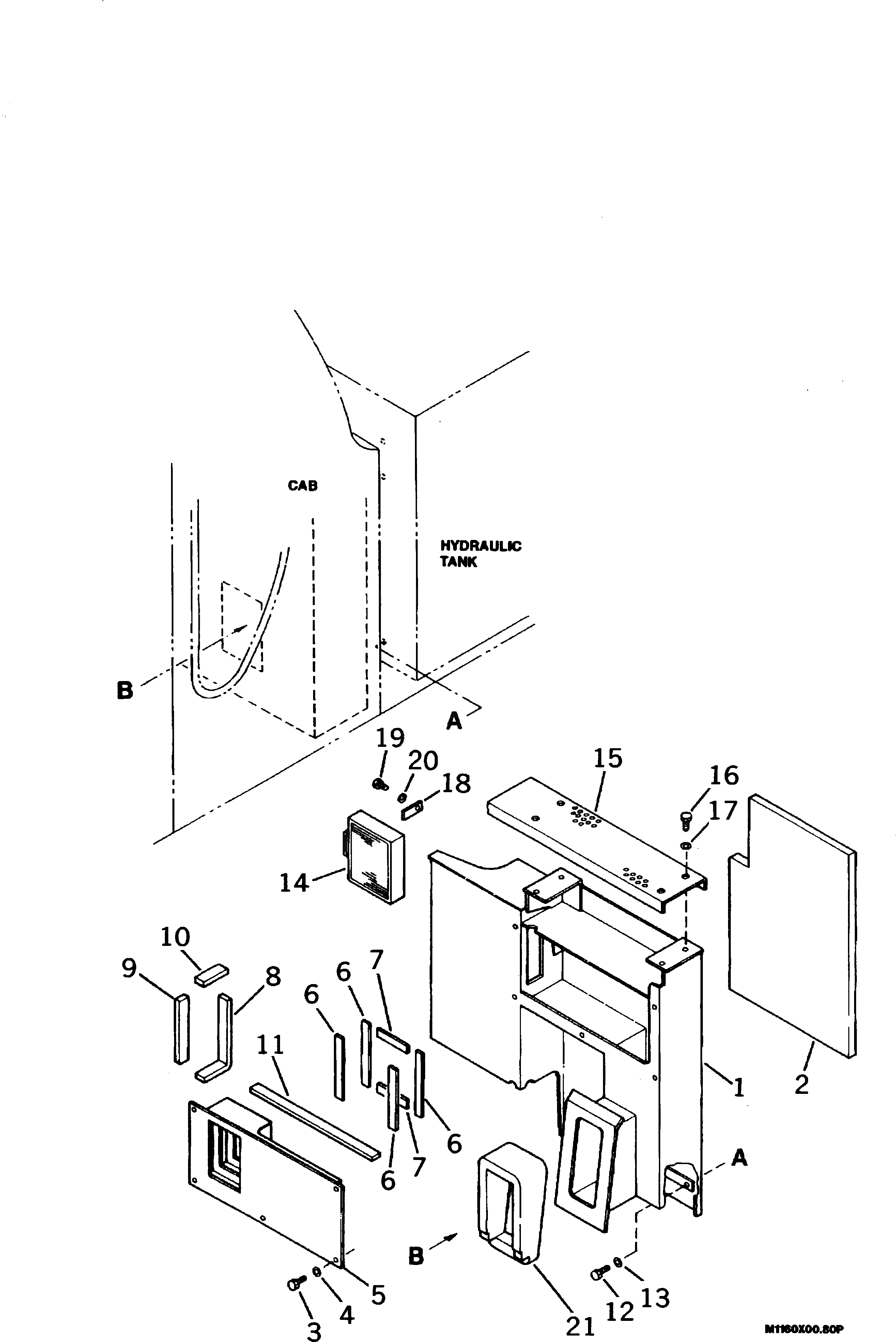
Запчасти Komatsu PC340NLC-6K ПЕРЕГОРОДКА. (ЗАДН. КАБИНА С УСИЛ. ОБОГРЕВАТЕЛЬ.)(№K-K999) ЧАСТИ КОРПУСА

Схема запчастей Komatsu PC340NLC-6K - ПЕРЕГОРОДКА. (ЗАДН. КАБИНА С УСИЛ. ОБОГРЕВАТЕЛЬ.)(№K-K999) ЧАСТИ КОРПУСА
FIT
1:1
100%

Артикул

Название

Примечание

Количество

1

207-54-68290

COVER

2

207-54-62451

SHEET

3

01010-51230

BOLT

4

01643-31232

WASHER

5

207-54-68390

COVER

6

207-54-68330

SHEET

7

207-54-68340

SHEET

8

207-54-68350

SHEET

9

207-54-68360

SHEET

10

207-54-68370

SHEET

11

207-54-68380

SHEET

12

01010-51230

BOLT

13

01643-31232

WASHER

14

203-979-6591

FILTER

15

207-54-62411

COVER

16

01010-51230

BOLT

17

01643-31232

WASHER

18

207-54-K2910

PLATE

19

01434-10830

BOLT¤ WING

20

01643-30823

WASHER

21

207-54-62471

SHEET

Выбрано товаров: 21