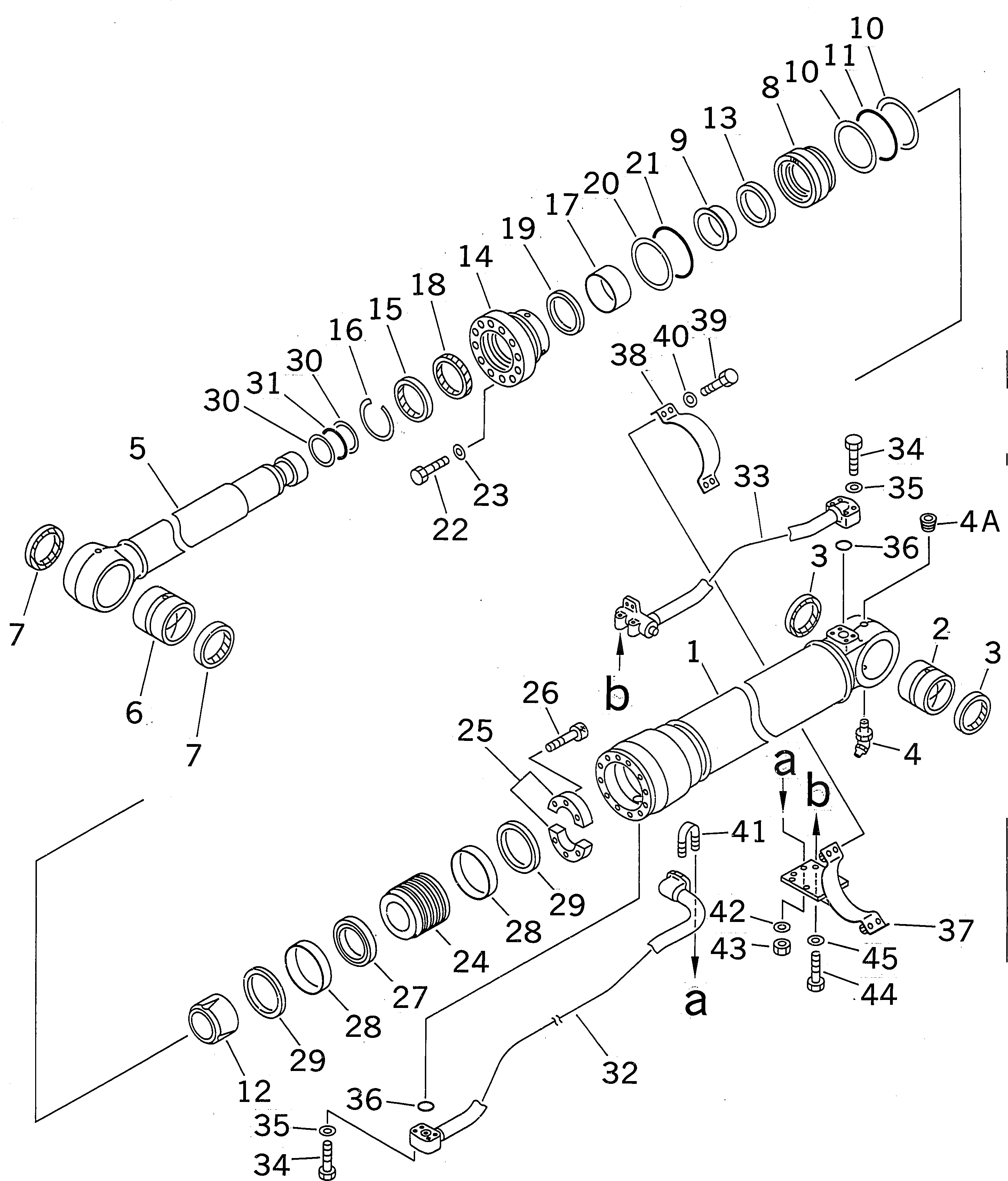
Запчасти Komatsu PC340NLC-6K ЦИЛИНДР СТРЕЛЫ РАБОЧЕЕ ОБОРУДОВАНИЕ

Схема запчастей Komatsu PC340NLC-6K - ЦИЛИНДР СТРЕЛЫ РАБОЧЕЕ ОБОРУДОВАНИЕ
FIT
1:1
100%

Артикул

Название

Примечание

Количество

|1

207-63-K1231

CYLINDER ASS'Y

|1

207-63-K1230

CYLINDER ASS'Y,BOOM

1

207-63-53341

CYLINDER

2

207-63-K1190

BUSHING

|2

207-70-51390

BUSHING

3

07145-00090

SEAL,DUST

4

07020-00675

FITTING

4A

07043-00108

PLUG

5

207-63-53120

ROD

6

207-70-51440

BUSHING

7

07145-00100

SEAL,DUST

8

707-71-31090

COLLAR

9

707-71-31081

COLLAR

10

07001-05135

RING

11

07000-15135

O-RING

12

707-71-61020

PLUNGER

13

707-71-11040

RING

14

707-27-14630

HEAD

15

176-63-56170

SEAL

16

07179-13114

RING

17

707-52-90750

BUSHING

18

707-51-10030

PACKING

19

707-51-10630

RING

20

07001-05135

RING

21

07000-15135

O-RING

22

01010-81875

BOLT

23

707-41-11840

WASHER

24

707-36-14340

PISTON

25

707-40-14870

SPACER

26

01252-31250

BOLT

27

707-44-14180

RING

28

707-39-14820

RING

29

707-44-14910

RING

30

707-35-52920

RING

31

07000-12080

O-RING

32

207-63-53171

TUBE,L.H.

|32

207-63-53271

TUBE,R.H.

33

207-62-63271

TUBE,L.H.

|33

207-62-63281

TUBE,R.H.

34

01010-81060

BOLT

35

01643-51032

WASHER

36

07000-13035

O-RING

37

707-88-95731

BRACKET

38

707-88-95720

BAND

39

01010-81240

BOLT

40

01643-51232

WASHER

41

07283-23442

CLIP

42

01643-31032

WASHER

43

01599-01011

NUT

44

01010-81025

BOLT

45

01643-31032

WASHER

Выбрано товаров: 51