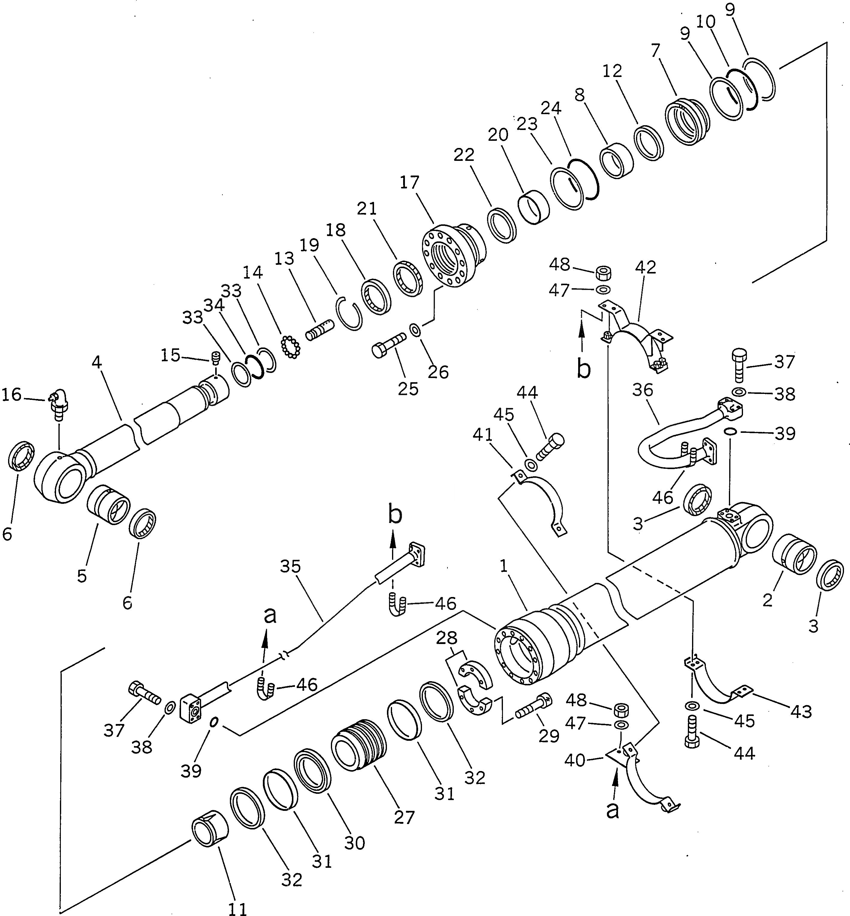
Запчасти Komatsu PC340NLC-6K ЦИЛИНДР РУКОЯТИ РАБОЧЕЕ ОБОРУДОВАНИЕ

Схема запчастей Komatsu PC340NLC-6K - ЦИЛИНДР РУКОЯТИ РАБОЧЕЕ ОБОРУДОВАНИЕ
FIT
1:1
100%

Артикул

Название

Примечание

Количество

|1

207-63-02120

ARM CYLINDER ASS'Y

1

207-63-63140

CYLINDER

2

707-76-10130

BUSHING

3

07145-00100

SEAL

4

207-63-63120

ROD

5

707-76-10130

BUSHING

6

07145-00100

SEAL

7

707-71-31191

COLLAR

8

707-71-31181

COLLAR

9

07001-05155

RING

10

07000-15155

O-RING

11

707-71-61100

PLUNGER

12

707-71-11150

RING

13

707-71-60250

PLUNGER

14

04260-00635

BALL

15

01312-01220

SCREW

16

07020-00900

FITTING

17

707-27-16620

HEAD

18

198-63-94170

SEAL

19

07179-13126

RING

20

707-52-90860

BUSHING

21

707-51-11030

PACKING

22

707-51-11630

RING

23

07001-05155

RING

24

07000-15155

O-RING

25

01010-62085

BOLT

26

707-88-75310

WASHER

27

707-36-16320

PISTON

28

707-40-16870

SPACER

29

01252-31450

BOLT

30

707-44-16180

RING

31

707-39-16820

RING

32

707-44-16910

RING

33

707-35-52930

RING

34

07000-12090

O-RING

35

207-63-63170

TUBE

36

207-63-63180

TUBE

37

01010-81060

BOLT

38

01643-51032

WASHER

39

07000-13035

O-RING

40

707-88-95751

BRACKET

41

707-88-95740

BAND

42

707-88-95781

BRACKET

43

707-88-95770

BAND

44

01010-81240

BOLT

45

01643-51232

WASHER

46

07283-23442

CLIP

47

01643-31032

WASHER

48

01599-01011

NUT

Выбрано товаров: 49