Запчасти Komatsu PC350-6Z ЦИЛИНДР КОВША(№-999) ОСНОВН. КОМПОНЕНТЫ И РЕМКОМПЛЕКТЫ

Схема запчастей Komatsu PC350-6Z - ЦИЛИНДР КОВША(№-999) ОСНОВН. КОМПОНЕНТЫ И РЕМКОМПЛЕКТЫ
FIT
1:1
100%

Артикул

Название

Примечание

Количество

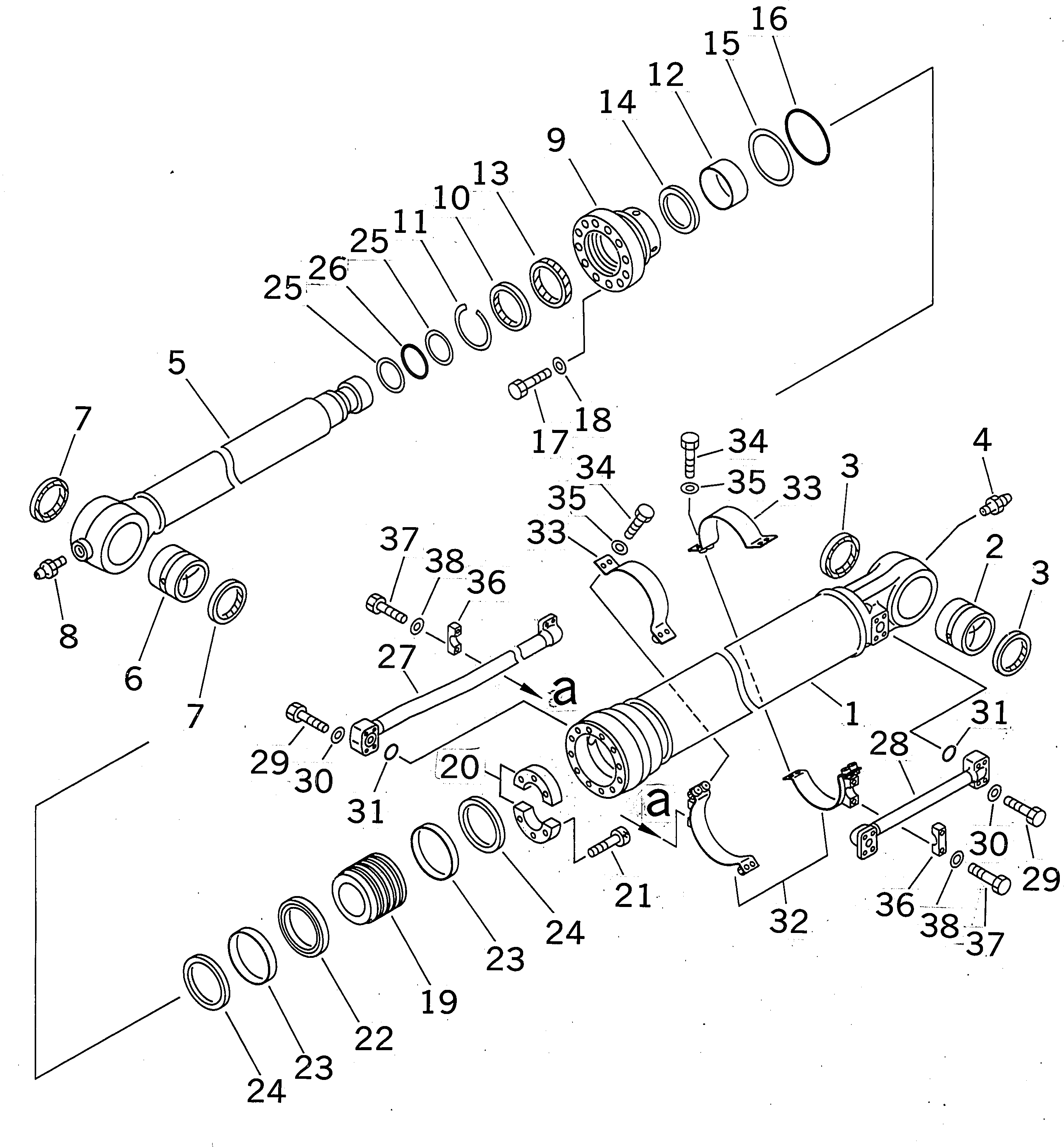
G-1

207-63-X2130

BUCKET CYLINDER G.

|1

207-63-02130

BUCKET CYLINDER A.

1

207-63-73140

CYLINDER

2

707-76-90130

BUSHING

3

07145-00090

SEAL,DUST (KIT)

4

07020-00000

FITTING,GREASE

5

207-63-73120

ROD

6

207-63-76170

BUSHING

7

205-70-62180

SEAL,DUST (KIT)

8

07020-00000

FITTING,GREASE

9

707-27-14630

HEAD

10

176-63-56170

SEAL,DUST (KIT)

11

07179-13114

RING,SNAP

12

707-52-90750

BUSHING

13

707-51-10030

PACKING,ROD (KIT)

14

707-51-10630

RING,BUFFER (KIT)

15

07001-05135

RING,BACK-UP (KIT)

16

07000-15135

O-RING (KIT)

17

01010-81875

BOLT

18

707-41-11840

WASHER

19

707-36-14340

PISTON

20

707-40-14870

SPACER

21

01252-31250

BOLT

22

707-44-14180

RING,PISTON (KIT)

23

707-39-14820

RING,WEAR (KIT)

24

707-44-14910

RING

25

707-35-52920

RING,BACK-UP (KIT)

26

07000-12080

O-RING (KIT)

27

207-63-73170

TUBE

28

207-63-73180

TUBE

29

01010-51060

BOLT

30

01643-51032

WASHER

31

07000-13035

O-RING (KIT)

32

707-88-87180

BRACKET

33

707-88-87170

BAND

34

01010-51240

BOLT

35

01643-51232

WASHER

36

707-88-10150

CLAMP

37

01010-51245

BOLT

38

01643-31232

WASHER

|K

707-99-58110

SERVICE KIT

Выбрано товаров: 41