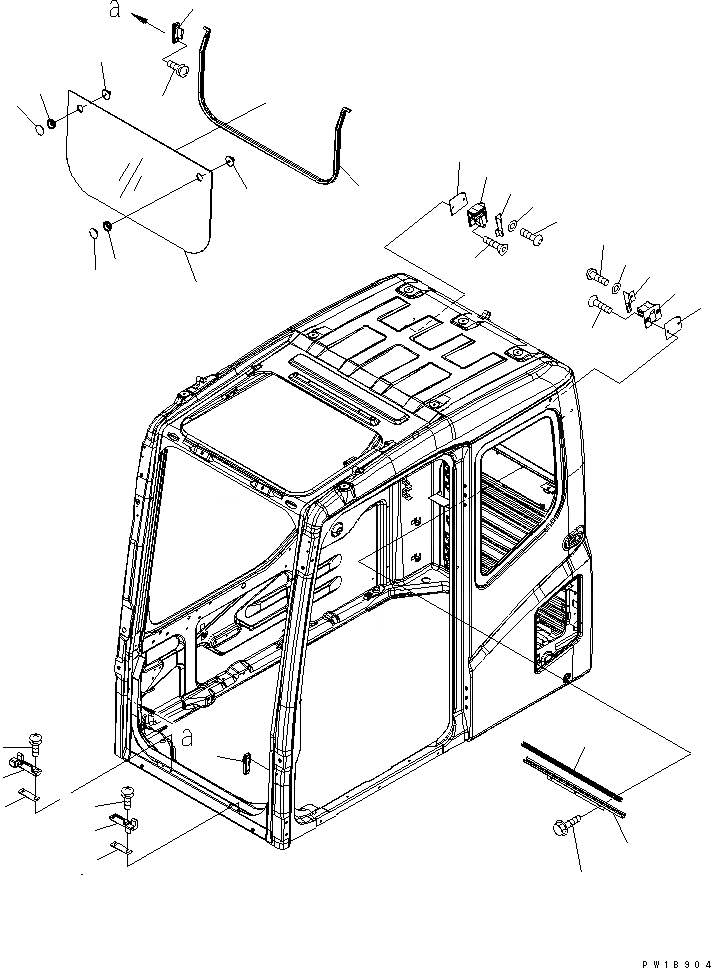
Запчасти Komatsu PC350-7 КАБИНА (ПЕРЕДН. НИЖН. ОКНА)(№-) КАБИНА ОПЕРАТОРА И СИСТЕМА УПРАВЛЕНИЯ

Схема запчастей Komatsu PC350-7 - КАБИНА (ПЕРЕДН. НИЖН. ОКНА)(№-) КАБИНА ОПЕРАТОРА И СИСТЕМА УПРАВЛЕНИЯ
1
2
2
3
3
4
4
5
6
6
7
8
9
9
10
10
10
11
12
13
14
15
15
16
16
17
17
18
18
19
20
21
FIT
1:1
100%

Артикул

Название

Примечание

Количество

|$7

20Y-54-01113

CAB ASS'Y,(KOMTRAX)

|$8

20Y-54-01112

CAB ASS'Y,(KOMTRAX)

|$9

20Y-54-01141

CAB ASS'Y,(KOMTRAX LESS)

|$10

20Y-54-01140

CAB ASS'Y,(KOMTRAX LESS)

|$11

20Y-54-01321

CAB ASS'Y,(DEMOLITION SPEC.)

|$12

20Y-54-01320

CAB ASS'Y,(DEMOLITION SPEC.)

|$13

20Y-54-01172

CAB ASS'Y,(VANDALISM PROTECTION)

|$14

20Y-54-01171

CAB ASS'Y,(VANDALISM PROTECTION)

|$15

20Y-54-01170

CAB ASS'Y,(VANDALISM PROTECTION)

|$17

20Y-54-51601

GLASS ASS'Y,FRONT, LOWER

1

20Y-54-51812

GLASS,FRONT, LOWER

2

22B-54-15970

RETAINER

3

22B-54-15980

KNOB

4

08037-02512

GROMMET

5

20Y-54-51862

SEAL,FRONT, LOWER

6

22B-54-15832

SEAT,GLASS

7

22B-54-15781

SEAT,L.H.

8

22B-54-15791

SEAT,R.H.

9

22B-54-15580

PLATE

10

01023-20616

SCREW

11

20Y-54-52161

LOCK,L.H.

12

20Y-54-52361

BRACKET,L.H.

13

20Y-54-52171

LOCK,R.H.

14

20Y-54-52371

BRACKET,R.H.

15

01240-00620

SCREW

16

01245-00625

SCREW

17

01641-50608

WASHER

18

20Y-54-52380

PLATE

19

20Y-54-52122

PLATE,FRONT, LOWER

20

01435-00616

BOLT

21

20Y-54-52131

SEAL

Выбрано товаров: 31