Качественные детали и логистика
Оригинальные и аналоговые запчасти с доставкой по России, Казахстану и Беларуси
©2022 PartSell ООО "Система" ИНН 2463123282 ОГРН 1212400004838
Центральный офис: г. Красноярск, Академика Киренского, д.87, пом.4
Телефон: 8 (800) 777-65-74 Email: zakaz@partsell.ru
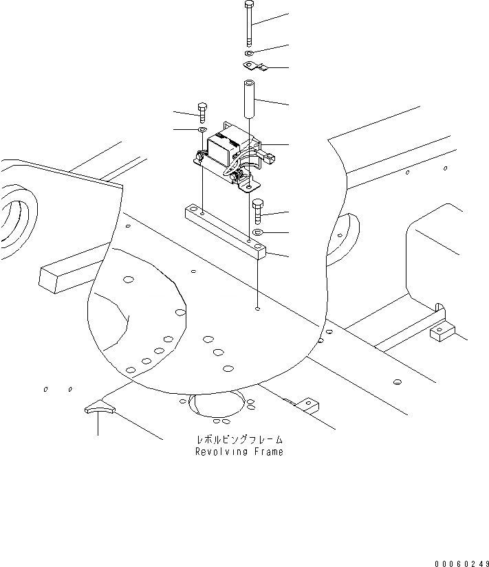
СИГНАЛ ХОДА(№7-)
№
Артикул
Название
Примечание
Количество
1
20Y-06-41812
BUZZER
2
08193-20010
CLIP
3
195-01-16420
COLLAR
4
01011-81015
BOLT
5
01643-31032
WASHER
6
01010-81020
7
8
20Y-06-21770
PLATE
9
01010-81245
10
01643-31232
Выбрано товаров: 0