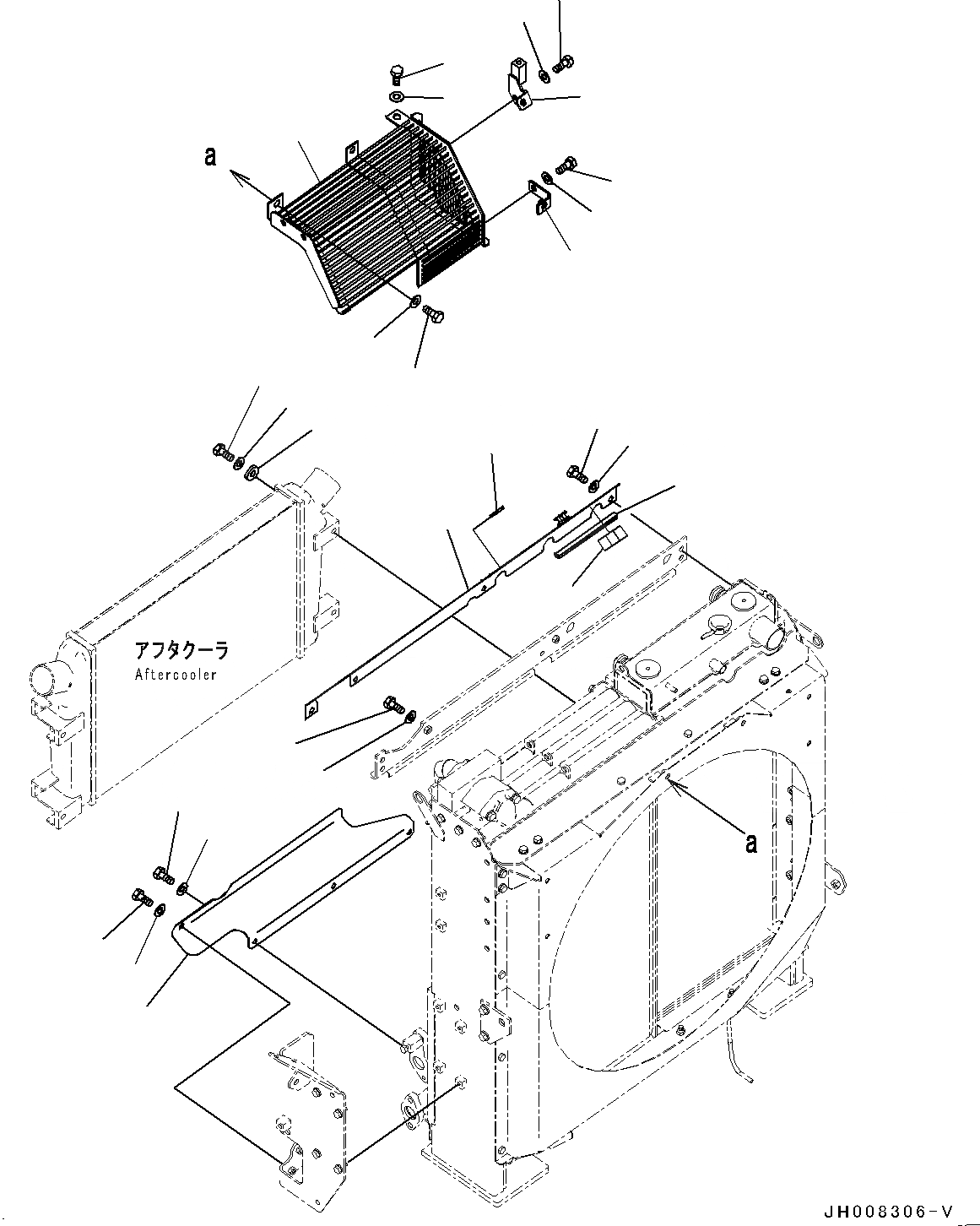
Запчасти Komatsu PC350-8 СИСТЕМА ОХЛАЖДЕНИЯ, ПОСЛЕОХЛАДИТЕЛЬ И КОНДЕНСАТОР (№-) СИСТЕМА ОХЛАЖДЕНИЯ, БЕЗ АВТОМАТИЧ. КОНДИЦ. ВОЗДУХА

Схема запчастей Komatsu PC350-8 - СИСТЕМА ОХЛАЖДЕНИЯ, ПОСЛЕОХЛАДИТЕЛЬ И КОНДЕНСАТОР (№-) СИСТЕМА ОХЛАЖДЕНИЯ, БЕЗ АВТОМАТИЧ. КОНДИЦ. ВОЗДУХА
24
21
20
23
18
19
19
18
17
7
6
9
8
5
12
11
10
1
13
3
2
14
22
25
4
15
16
FIT
1:1
100%

Артикул

Название

Примечание

Количество

1

6110-23-6490

Spacer

2

01010-81045

Bolt

3

01643-31032

Washer

4

207-03-76361

Cover

5

208-03-71770

Seal

6

01010-81225

Bolt

7

01643-31232

Washer

8

01010-81020

Bolt

9

01643-31032

Washer

10

207-03-75471

Cover

11

01010-81020

Bolt

12

01643-31032

Washer

13

01010-81020

Bolt

14

01643-31032

Washer

15

207-03-76460

Seal

16

208-60-75120

Trim

17

207-03-75521

Guard

18

01010-81225

Bolt

19

01643-31232

Washer

20

207-03-75610

Bracket

21

01010-81225

Bolt

22

01643-31232

Washer

23

207-979-6180

Bracket

24

01010-81225

Bolt

25

01643-31232

Washer

Выбрано товаров: 25