Запчасти Komatsu PC350-8M0 ПОВОРОТН. КРУГ (№8-) ПОВОРОТН. КРУГ

Схема запчастей Komatsu PC350-8M0 - ПОВОРОТН. КРУГ (№8-) ПОВОРОТН. КРУГ
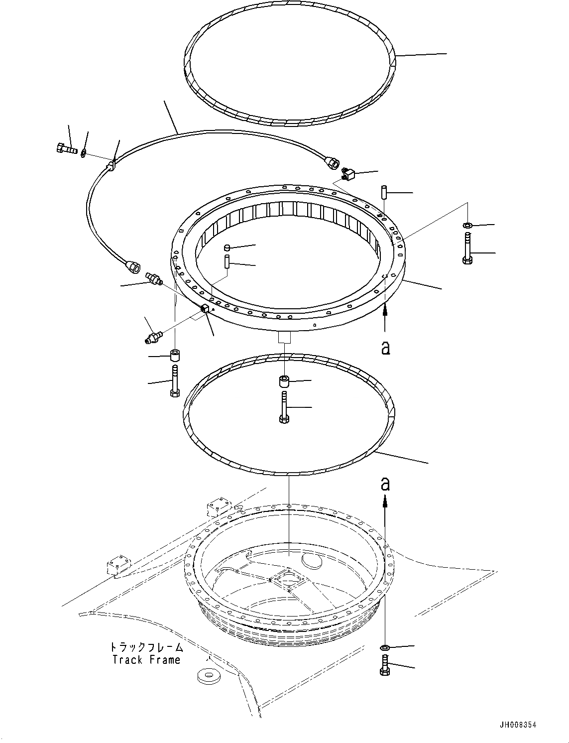
1
2
4
5
6
10
15
16
9
7
6
13
14
12
8
11
3
2
17
18
17
18
FIT
1:1
100%

Артикул

Название

Примечание

Количество

1

207-25-61100

Swing Circle Assembly

2

207-25-61160

Seal

3

205-25-71280

Nipple

4

21N-04-41410

Bolt

5

01643-72460

Washer

6

04020-01842

Pin, Dowel

7

20Y-46-21520

Cap

8

207-25-62110

Tube

9

20Y-25-11270

Elbow

10

07020-00000

Fitting, Grease

11

07214-50813

Connector

12

08036-00814

Clip

13

01010-81020

Bolt

14

01643-31032

Washer

15

207-25-75110

Bolt

16

01643-72460

Washer

17

207-25-75120

Bolt

18

207-25-25131

Collar

Выбрано товаров: 18