Запчасти Komatsu PC350HD-8 H-A ГИДР. БАК. ГИДРАВЛИКА

Схема запчастей Komatsu PC350HD-8 - H-A ГИДР. БАК. ГИДРАВЛИКА
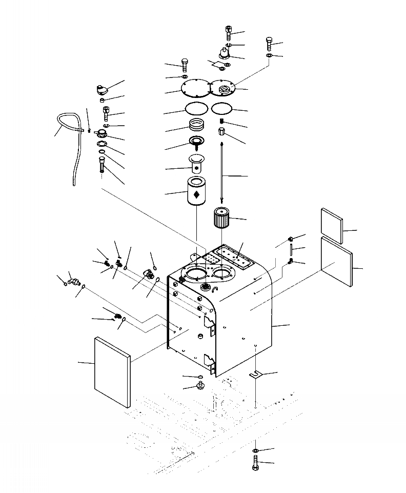
49
35
50
36
48
47
27
37
28
33
25
38
43
41
34
26
42
30
24
39
44
31
23
40
22
46
29
45
21
32
53
2
17
54
16
20
14
3
18
2
6
52
8
19
15
12
7
13
9
11
1
10
51
57
5
4
56
55
FIT
1:1
100%

Артикул

Название

Примечание

Количество

1

207-60-75110

TANK

2

203-60-31100

ELBOW ASSEMBLY

3

203-60-31160

TUBE

4

07044-12412

PLUG

5

07002-12434

O-RING

6

02783-10628

ELBOW

7

07002-12434

O-RING

8

02896-11018

O-RING

9

02782-10315

ELBOW

10

07002-12034

O-RING

11

02896-11009

O-RING

12

21W-62-42640

ELBOW

13

07002-13334

O-RING

14

207-62-64740

O-RING

15

02782-10422

ELBOW

16

07002-12034

O-RING

17

02896-11012

O-RING

18

11Y-62-12160

ELBOW

19

07002-11423

O-RING

20

02896-11008

O-RING

21

207-60-71182

ELEMENT

22

20Y-60-31140

STRAINER

23

20Y-60-31131

VALVE ASSEMBLY

24

20Y-60-21240

SPRING

25

22U-60-21232

COVER

26

07000-15195

O-RING

27

01010-81230

BOLT

28

01643-31232

WASHER

|$28

207-60-75120

STRAINER ASSEMBLY

29

208-60-71150

ROD ASSEMBLY

30

12R-60-11230

SPRING

31

20Y-60-21320

HOLDER

32

22B-60-11160

STRAINER

33

207-60-75131

COVER

34

07000-15160

O-RING

35

01010-81230

BOLT

36

01643-31232

WASHER

37

17A-60-11310

CAP ASSEMBLY

38

20Y-60-21470

ELEMENT

39

208-60-71181

FILLER NECK

40

20Y-60-21340

GASKET

41

01252-70516

BOLT

42

01601-20513

WASHER

43

07285-00200

CLIP

44

07261-21415

HOSE

45

07056-10045

STRAINER

46

04065-04718

RING

|$47

20Y-60-31271

BREATHER

47

207-60-51311

ELEMENT

48

207-60-51320

SEAL

49

01252-70516

BOLT

50

01601-20513

WASHER

51

207-60-75910

SHEET

52

207-60-75920

SHEET

53

207-60-75930

SHEET

54

20Y-00-42110

PLATE

55

01010-81635

BOLT

56

01643-31645

WASHER

57

195-03-11570

SHIM, 1.0 MM

Выбрано товаров: 59