Запчасти Komatsu PC350HD-8 H8-A СОЛЕНОИДНЫЙ КЛАПАН (-АКТУАТОР) СОЕДИНИТЕЛЬН. ЧАСТИ ГИДРАВЛИКА

Схема запчастей Komatsu PC350HD-8 - H8-A СОЛЕНОИДНЫЙ КЛАПАН (-АКТУАТОР) СОЕДИНИТЕЛЬН. ЧАСТИ ГИДРАВЛИКА
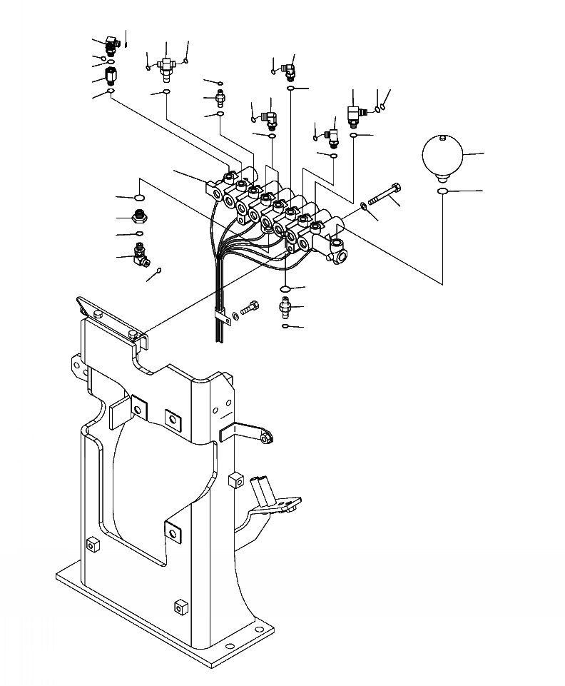
15
30
29
14
30
7
8
15
16
12
2
4
13
3
16
9
10
16
11
16
5
6
16
16
16
16
25
1
26
21
27
20
28
24
22
23
19
17
18
FIT
1:1
100%

Артикул

Название

Примечание

Количество

2

20Y-62-22271

ELBOW

3

201-60-11390

O-RING

4

20Y-62-19560

O-RING

5

207-62-72120

ELBOW

6

02896-11008

O-RING

7

11Y-62-12160

ELBOW

8

02896-11008

O-RING

9

21W-62-42490

ELBOW

10

02896-11009

O-RING

11

11Y-62-12130

NIPPLE

12

02896-11009

O-RING

13

21M-62-16350

ADAPTER

14

207-62-72141

ELBOW

15

02896-11008

O-RING

16

07002-11423

O-RING

17

02781-00422

UNION

18

02896-11012

O-RING

19

07002-12034

O-RING

20

20Y-62-21940

FILTER ASSEMBLY

21

07002-12034

O-RING

22

21W-62-42490

ELBOW

23

02896-11009

O-RING

24

07002-11423

O-RING

25

20Y-60-A1221

ACCUMULATOR

25

20Y-60-A1220

ACCUMULATOR

26

07002-12034

O-RING

27

20Y-62-43690

TEE

28

02896-11008

O-RING

29

01010-81095

BOLT

30

01643-31032

WASHER

Выбрано товаров: 0