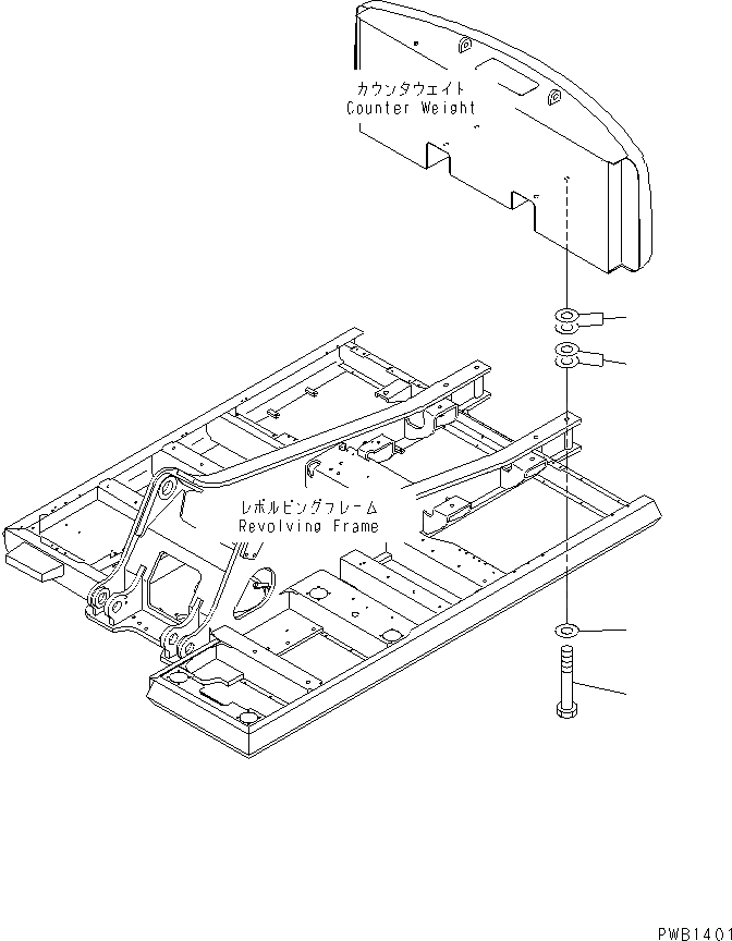
Запчасти Komatsu PC350LC-6 КРЕПЛЕНИЕ ПРОТИВОВЕСА ЧАСТИ КОРПУСА

Схема запчастей Komatsu PC350LC-6 - КРЕПЛЕНИЕ ПРОТИВОВЕСА ЧАСТИ КОРПУСА
1
2
3
4
FIT
1:1
100%

Артикул

Название

Примечание

Количество

1

207-46-52120

BOLT

2

207-46-52130

WASHER

3

207-46-32150

SHIM, 1.0MM

4

207-46-32160

SHIM, 2.0MM

Выбрано товаров: 4