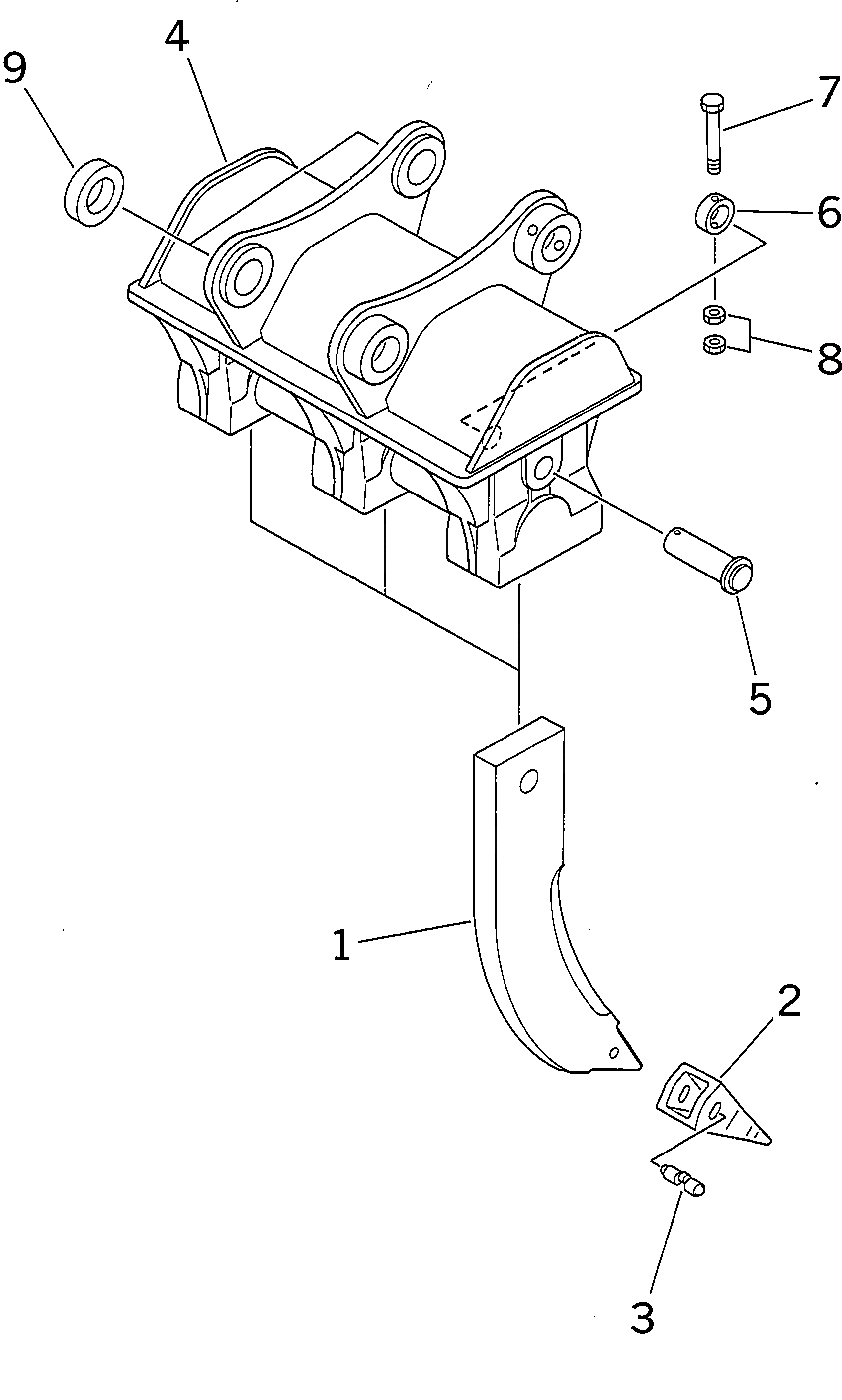
Запчасти Komatsu PC350LC-6 ТРЕХЗУБЫЙ РЫХЛИТЕЛЬ РАБОЧЕЕ ОБОРУДОВАНИЕ

Схема запчастей Komatsu PC350LC-6 - ТРЕХЗУБЫЙ РЫХЛИТЕЛЬ РАБОЧЕЕ ОБОРУДОВАНИЕ
FIT
1:1
100%

Артикул

Название

Примечание

Количество

|$1

207-951-0010

THREE SHANK RIPPER A

|$2

207-951-0020

SHANK ASS'Y

1

SHANK

2

175-78-31230

POINT

3

09244-02508

PIN

4

BRACKET

5

207-951-1140

PIN

6

207-951-1150

COLLAR

7

01019-11620

BOLT

8

01580-11613

NUT

9

207-70-34310

COLLAR

Выбрано товаров: 11