Запчасти Komatsu PC350LC-7-BA ПОВОРОТНОЕ СОЕДИНЕНИЕ (СОЕДИНИТЕЛЬН. ЧАСТИ) ПОВОРОТН. КРУГ И КОМПОНЕНТЫ

Схема запчастей Komatsu PC350LC-7-BA - ПОВОРОТНОЕ СОЕДИНЕНИЕ (СОЕДИНИТЕЛЬН. ЧАСТИ) ПОВОРОТН. КРУГ И КОМПОНЕНТЫ
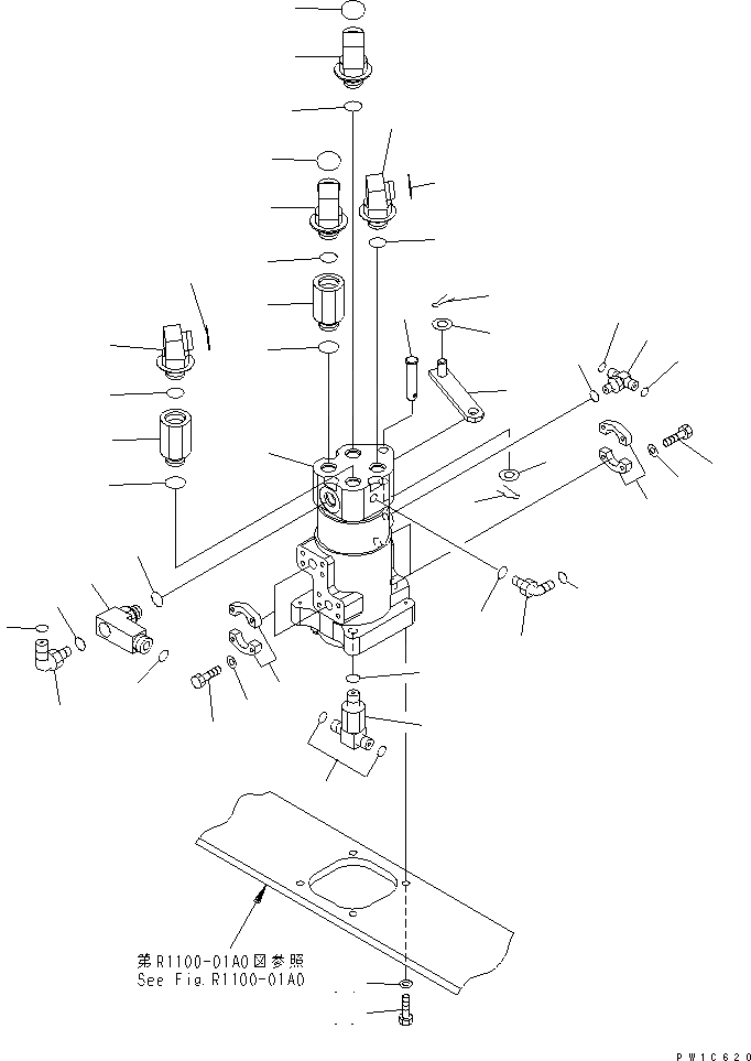
1
2
3
4
5
6
6
7
8
8
9
9
10
10
11
12
13
14
15
16
17
18
19
20
20
21
21
21
21
22
22
23
23
24
25
25
26
26
27
28
29
30
30
31
32
33
34
FIT
1:1
100%

Артикул

Название

Примечание

Количество

1

703-08-33620

SWIVEL JOINT ASS'Y

2

207-62-72151

TEE

3

02896-11015

O-RING

4

07002-12434

O-RING

5

21W-62-42630

TEE

6

02896-11009

O-RING

7

07002-11423

O-RING

8

07371-31049

FLANGE

9

07372-21035

BOLT

10

01643-51032

WASHER

11

02782-10522

ELBOW

12

02896-11015

O-RING

13

07002-12434

O-RING

14

207-62-72171

ELBOW

15

02896-11018

O-RING

16

07002-12434

O-RING

17

21W-62-42490

ELBOW

|17

02782-10311

ELBOW

18

02896-11009

O-RING

19

07002-11423

O-RING

20

203-62-63740

JOINT

21

07002-63334

O-RING

22

207-62-71410

ELBOW

23

11Y-62-11980

O-RING

24

07002-63334

O-RING

25

21W-62-42640

ELBOW

26

11Y-62-11980

O-RING

27

07002-63334

O-RING

28

207-62-71420

PLATE

29

22U-62-21870

PIN

30

01641-21626

WASHER

31

04050-14025

PIN

32

22U-62-24420

PIN

33

01010-81240

BOLT

34

01643-31232

WASHER

Выбрано товаров: 35