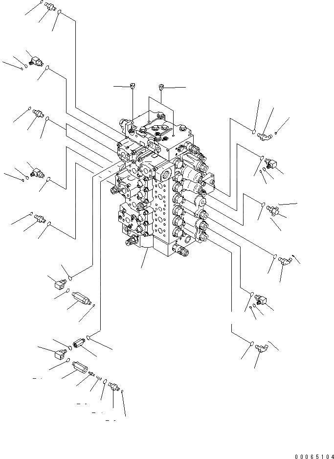
Запчасти Komatsu PC350LC-8 ОСНОВН. КЛАПАН (СОЕДИНИТЕЛЬН. ЧАСТИ) (/)(№-) ГИДРАВЛИКА

Схема запчастей Komatsu PC350LC-8 - ОСНОВН. КЛАПАН (СОЕДИНИТЕЛЬН. ЧАСТИ) (/)(№-) ГИДРАВЛИКА
1
2
3
4
4
4
4
5
5
5
5
6
6
6
6
7
7
8
8
9
10
11
12
12
13
14
15
15
16
16
17
17
17
17
17
17
17
17
17
17
17
18
19
19
20
20
20
21
21
22
23
24
25
26
26
27
27
FIT
1:1
100%

Артикул

Название

Примечание

Количество

1

723-47-26500

CONTROL VALVE

2

07049-01012

PLUG

3

07049-01215

PLUG

4

22U-62-22480

ELBOW

5

201-60-11390

O-RING

6

20Y-62-19560

O-RING

7

11Y-62-12160

ELBOW

8

02896-11008

O-RING

9

21W-62-42490

ELBOW

10

02896-11009

O-RING

11

11Y-62-12250

TEE

12

02896-11008

O-RING

13

11Y-62-12130

NIPPLE

14

02896-11008

O-RING

15

11Y-62-12520

NIPPLE

16

02896-11009

O-RING

17

07002-11423

O-RING

18

20Y-62-22160

ADAPTER

19

20Y-62-23541

ELBOW

20

07002-11423

O-RING

|$25

20Y-62-41701

VALVE ASS'Y

21

BODY

22

20Y-60-22270

POPPET

23

701-20-61230

SPRING

24

07002-11423

O-RING

25

20Y-62-47630

NIPPLE

26

02896-11008

O-RING

27

07002-11423

O-RING

Выбрано товаров: 28