Запчасти Komatsu PC350LC-8 ГИДР. БАК., (№-9) ГИДР. БАК., СТРЕЛА И РУКОЯТЬ ANTI-DROP КЛАПАН, БЫСТРОСЪЕМН. МЕХ-М, KUK

Схема запчастей Komatsu PC350LC-8 - ГИДР. БАК., (№-9) ГИДР. БАК., СТРЕЛА И РУКОЯТЬ ANTI-DROP КЛАПАН, БЫСТРОСЪЕМН. МЕХ-М, KUK
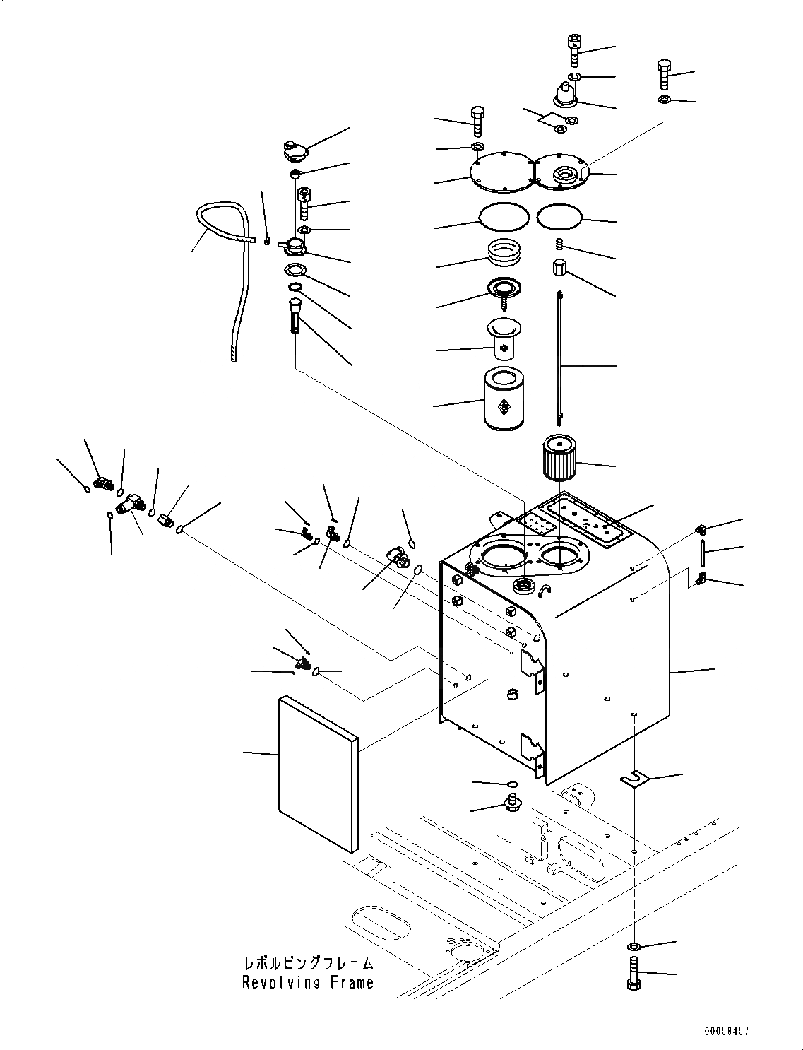
1
2
3
4
5
6
7
8
9
10
11
12
13
14
15
16
18
19
20
21
22
23
24
25
26
27
28
29
30
31
32
33
34
35
36
37
38
39
40
41
52
53
54
55
56
57
59
60
61
42
43
44
45
46
47
48
49
50
51
2
58
17
FIT
1:1
100%

Артикул

Название

Примечание

Количество

1

207-60-75110

Tank

2

203-60-31100

Elbow Assembly

3

203-60-31160

Tube

4

07044-12412

Plug

5

07002-12434

O-ring

6

201-62-71810

Joint

7

07002-12434

O-ring

8

207-62-72171

Elbow

9

07002-12434

O-ring

10

02896-11018

O-ring

11

02782-10522

Elbow

12

07002-12434

O-ring

13

02896-11015

O-ring

14

11Y-62-12810

Tee

15

07002-12034

O-ring

16

02896-11009

O-ring

17

02896-11008

O-ring

18

21W-62-42640

Elbow

19

07002-13334

O-ring

20

207-62-64740

O-ring

21

02782-10422

Elbow

22

07002-12034

O-ring

23

02896-11012

O-ring

24

11Y-62-12160

Elbow

25

07002-11423

O-ring

26

02896-11008

O-ring

27

207-60-71182

Element, Hydraulic Oil Filter

28

20Y-60-31140

Strainer

29

20Y-60-31131

Valve Assembly

30

20Y-60-21240

Spring

31

22U-60-21232

Cover

32

07000-15195

O-ring

33

01010-81230

Bolt

34

01643-31232

Washer

|$34

207-60-75120

Strainer Assembly

35

208-60-71150

Rod Assembly

36

12R-60-11230

Spring

37

20Y-60-21320

Holder

38

22B-60-11160

Strainer

39

207-60-75131

Cover

40

07000-15160

O-ring

41

01010-81230

Bolt

42

01643-31232

Washer

43

17A-60-11310

Cap Assembly

44

20Y-60-21470

Element

45

208-60-71180

Filler Neck

46

20Y-60-21340

Gasket

47

01252-70516

Bolt

48

01601-20513

Washer

49

07285-00155

Clip

50

07270-61415

Tube

51

07056-10045

Strainer

52

04065-04718

Ring, Snap

52

20Y-60-31270

Breather Assembly

53

207-60-51310

Element

54

207-60-51320

Seal

55

01252-70516

Bolt

56

01601-20513

Washer

57

207-60-75910

Sheet

58

20Y-00-42110

Plate

59

01010-81635

Bolt

60

01643-31645

Washer

61

195-03-11570

Shim, T=1.0mm

Выбрано товаров: 63