Запчасти Komatsu PC350LC-8 ЗАПРАВОЧН.LING НАСОС (№-) ЗАПРАВОЧН.LING НАСОС, ЕС ARRANGEMENT

Схема запчастей Komatsu PC350LC-8 - ЗАПРАВОЧН.LING НАСОС (№-) ЗАПРАВОЧН.LING НАСОС, ЕС ARRANGEMENT
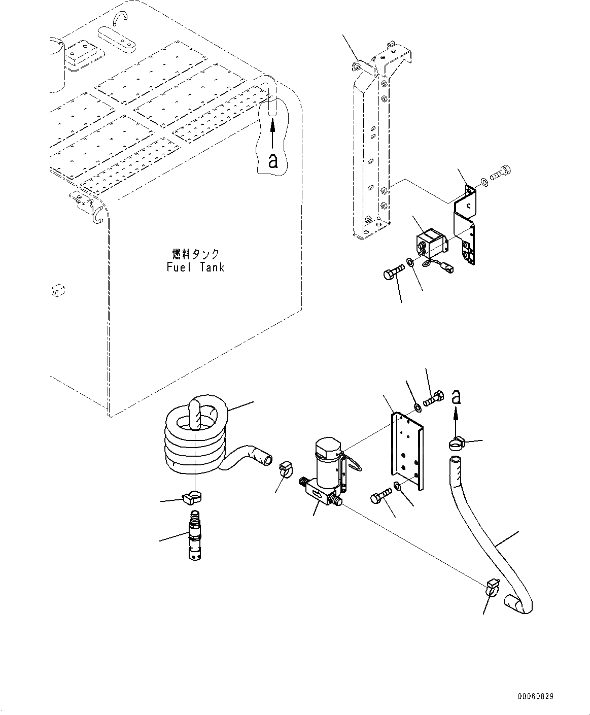
6
7
2
9
10
12
13
8
11
4
1
5
11
15
14
10
3
16
FIT
1:1
100%

Артикул

Название

Примечание

Количество

1

20Y-04-K2082

Pump

1

20Y-04-K2081

Pump

2

20Y-04-K2450

Valve Assembly

3

20Y-04-K2351

Hose

4

208-04-K1550

Hose

5

207-04-K1440

Bracket

5

207-04-75180

Bracket

6

01010-80616

Bolt

7

01643-30623

Washer

8

01010-81225

Bolt

9

01643-31232

Washer

10

07289-00035

Clamp

11

07289-00035

Clamp

12

207-04-75261

Bracket

13

207-06-71540

Switch Assembly

14

01010-80616

Bolt

15

01643-30623

Washer

16

207-54-71251

Frame

Выбрано товаров: 18