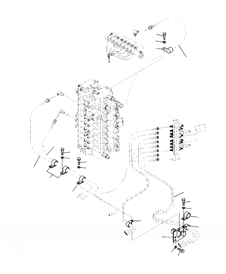
Запчасти Komatsu PC350LC-8 K-A РАБОЧАЯ ЛИНИЯ PPC КРЕПЛЕНИЕ -АКТУАТОР OPERATOR\XD S ОБСТАНОВКА И СИСТЕМА УПРАВЛЕНИЯ

Схема запчастей Komatsu PC350LC-8 - K-A РАБОЧАЯ ЛИНИЯ PPC КРЕПЛЕНИЕ -АКТУАТОР OPERATOR\XD S ОБСТАНОВКА И СИСТЕМА УПРАВЛЕНИЯ
7
8
2
12
11
7
8
7
8
10
6
9
4
7
8
5
4
3
1
8
7
FIT
1:1
100%

Артикул

Название

Примечание

Количество

1

207-62-75190

BRACKET

2

04434-51812

CLIP

3

20Y-62-15951

CLIP

4

581-04-22290

CLIP

5

04434-53412

CLIP

6

04435-51512

CLIP

7

01010-81225

BOLT

8

01643-31232

WASHER

Выбрано товаров: 8