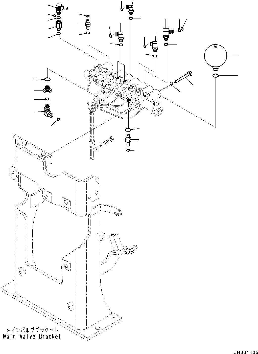
Запчасти Komatsu PC350LC-8 СОЛЕНОИДНЫЙ КЛАПАН ТРУБЫ, СОЛЕНОИДНЫЙ КЛАПАН (/) (№B7-) СОЛЕНОИДНЫЙ КЛАПАН ТРУБЫ

Схема запчастей Komatsu PC350LC-8 - СОЛЕНОИДНЫЙ КЛАПАН ТРУБЫ, СОЛЕНОИДНЫЙ КЛАПАН (/) (№B7-) СОЛЕНОИДНЫЙ КЛАПАН ТРУБЫ
26
25
15
27
28
18
16
17
2
3
1
16
4
5
15
15
9
8
10
15
11
20
19
24
21
22
12
15
14
23
7
6
14
13
FIT
1:1
100%

Артикул

Название

Примечание

Количество

1

20Y-62-22271

Elbow

2

201-60-11390

O-ring

3

20Y-62-19560

O-ring

4

207-62-72120

Elbow

5

02896-11008

O-ring

6

11Y-62-12160

Elbow

7

02896-11008

O-ring

8

21W-62-42490

Elbow

9

02896-11009

O-ring

10

11Y-62-12130

Nipple

11

02896-11009

O-ring

12

21M-62-16350

Adapter

13

207-62-72141

Elbow

14

02896-11008

O-ring

15

07002-11423

O-ring

16

02781-00422

Union

17

02896-11012

O-ring

18

07002-12034

O-ring

19

20Y-62-21940

Filter Assembly

20

07002-12034

O-ring

21

21W-62-42490

Elbow

22

07002-11423

O-ring

23

02896-11009

O-ring

24

07002-11423

O-ring

25

22U-60-21330

Accumulator

26

07002-12034

O-ring

27

01010-81095

Bolt

28

01643-31032

Washer

Выбрано товаров: 28