Запчасти Komatsu PC350LC-8 БЫСТРОСЪЕМН. МЕХ-М ЛИНИЯ (КОРПУС) ( ИЛИ АКТУАТОР) (№K8-) H ГИДРАВЛИКА

Схема запчастей Komatsu PC350LC-8 - БЫСТРОСЪЕМН. МЕХ-М ЛИНИЯ (КОРПУС) ( ИЛИ АКТУАТОР) (№K8-) H ГИДРАВЛИКА
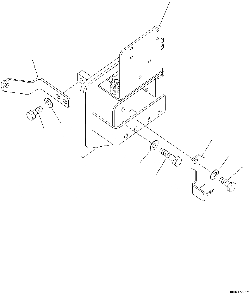
5
6
4
3
2
7
9
8
1
FIT
1:1
100%

Артикул

Название

Примечание

Количество

1

207-62-K5431

BRACKET

|1

207-62-K5430

BRACKET

|1

207-62-75571

BRACKET

2

01010-81260

BOLT

3

01643-31232

WASHER

4

207-62-K4580

BRACKET

|4

207-62-75580

BRACKET

5

01010-81225

BOLT

6

01643-31232

WASHER

7

207-62-75630

BRACKET

8

01010-81225

BOLT

9

01643-31232

WASHER

Выбрано товаров: 12