Запчасти Komatsu PC350LC-8M0 ЗАПРАВОЧН.LING НАСОС (№8-) ЗАПРАВОЧН.LING НАСОС, EXTRA BAD ТОПЛИВН. И ПЛОХ. ТОПЛИВО СПЕЦ-ЯIFICATION, ВОДН.+DUST, БОЛЬШ. ТОПЛИВН. PREФИЛЬТР.

Схема запчастей Komatsu PC350LC-8M0 - ЗАПРАВОЧН.LING НАСОС (№8-) ЗАПРАВОЧН.LING НАСОС, EXTRA BAD ТОПЛИВН. И ПЛОХ. ТОПЛИВО СПЕЦ-ЯIFICATION, ВОДН.+DUST, БОЛЬШ. ТОПЛИВН. PREФИЛЬТР.
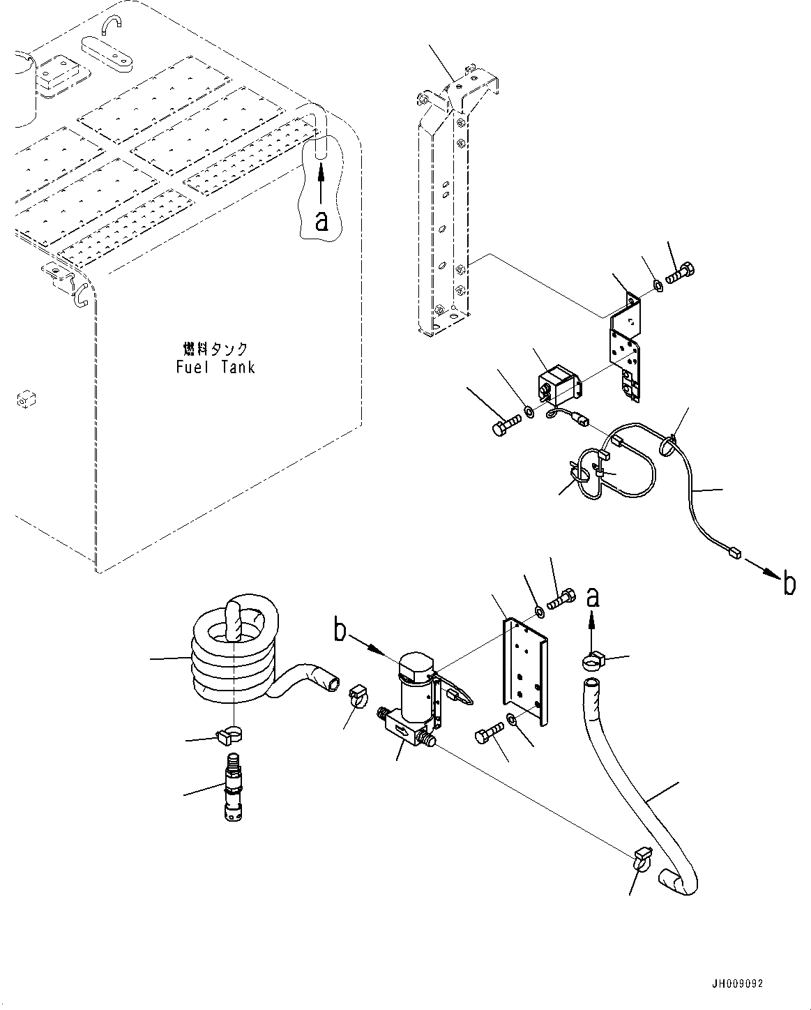
6
7
2
9
10
12
13
8
11
4
1
19
11
15
14
10
3
18
17
16
22
21
20
5
FIT
1:1
100%

Артикул

Название

Примечание

Количество

1

20Y-04-K2082

Pump

2

20Y-04-K2450

Valve Assembly

3

20Y-04-K2351

Hose

4

208-04-K1550

Hose

5

207-04-75540

Bracket

6

01010-80616

Bolt

7

01643-30623

Washer

8

01010-81225

Bolt

9

01643-31232

Washer

10

07289-00035

Clamp

11

07289-00035

Clamp

12

207-04-75261

Bracket

13

207-06-71540

Switch Assembly

14

01010-80616

Bolt

15

01643-30623

Washer

16

207-06-75270

Wiring Harness

17

04434-51412

Clip

18

08034-20519

Band

19

08034-20536

Band

20

01010-81230

Bolt

21

01643-31232

Washer

22

207-54-73430

Frame

Выбрано товаров: 0